授权公布号:CN218113120U
立式口服液整托装盒
有效
申请
2022-08-31
申请公布
1970-01-01
授权
2022-12-23
预估到期
2032-08-31
| 申请号 | CN202222316965.4 |
| 申请日 | 2022-08-31 |
| 授权公布号 | CN218113120U |
| 授权公告日 | 2022-12-23 |
| 分类号 | B65B35/18 |
| 分类 | 输送;包装;贮存;搬运薄的或细丝状材料; |
| 申请人名称 | 扬子江药业集团有限公司 |
| 申请人地址 | 江苏省泰州市高港区扬子江南路一号 |
专利法律状态
2022-12-23
授权
状态信息
授权
摘要
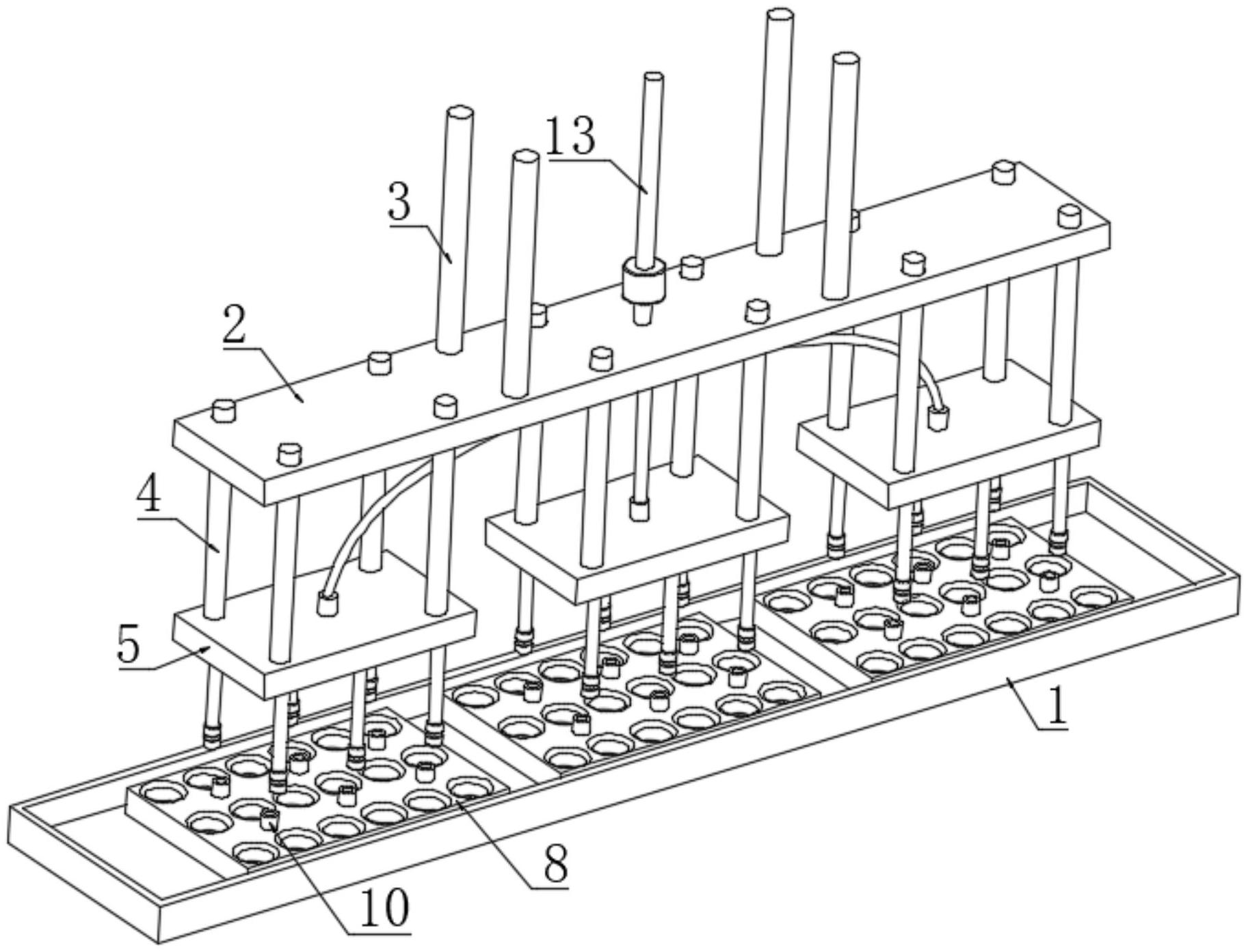
本实用新型提供立式口服液整托装盒,涉及立式口服液装盒技术领域,包括输送座板和压板,压板的上表面设置有伸缩杆,压板的下部固定安装有连接柱,压板通过连接柱固定连接有吸整托盘,吸整托盘的下部固定安装有真空杆,真空杆的下部固定安装有主动吸嘴,输送座板的内侧设置有塑托盘,塑托盘的上表面开设有放置槽,塑托盘的上表面固定安装有被动吸嘴。本实用新型中主动吸嘴逐步和被动吸嘴贴合,此时通过真空泵进行抽气,使主动吸嘴和被动吸嘴内部为真空状态,此时两者紧密连接,此时即可通过伸缩杆收缩,带动压板和吸整托盘移动,此时塑托盘和其上的立式口服液也会移动,该种方式,可以避免在吸附时产生偏移的情况,从而使整体更为稳固。


