授权公布号:CN218308281U
一种药物粉碎机
有效
申请
2022-08-31
申请公布
1970-01-01
授权
2023-01-17
预估到期
2032-08-31
| 申请号 | CN202222311383.7 |
| 申请日 | 2022-08-31 |
| 授权公布号 | CN218308281U |
| 授权公告日 | 2023-01-17 |
| 分类号 | B02C15/00;B02C23/14 |
| 分类 | 破碎、磨粉或粉碎;谷物碾磨的预处理; |
| 申请人名称 | 扬子江药业集团有限公司 |
| 申请人地址 | 江苏省泰州市高港区扬子江南路一号 |
专利法律状态
2023-01-17
授权
状态信息
授权
摘要
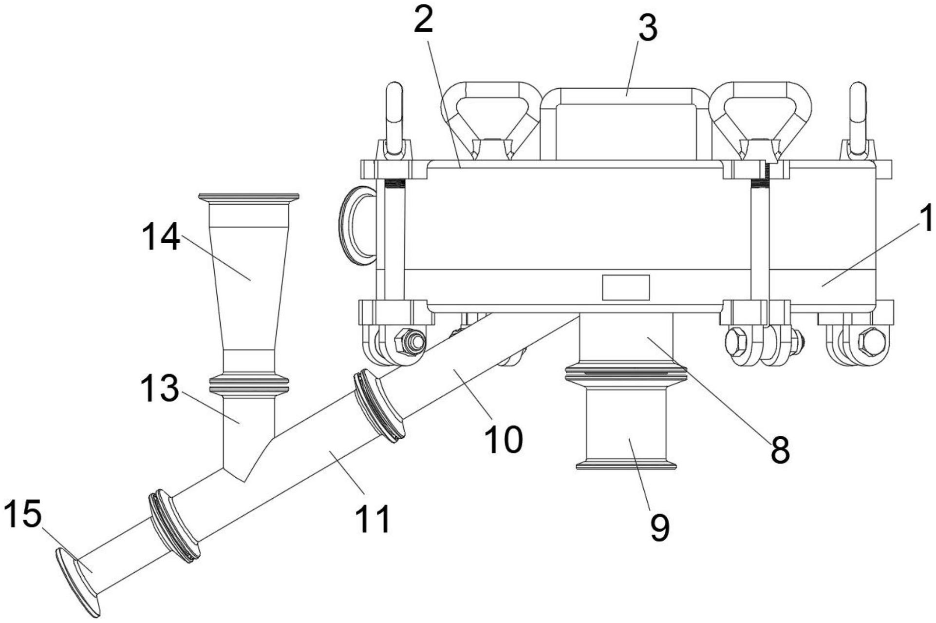
本实用新型涉及粉碎机技术领域,公开了一种药物粉碎机,包括粉碎机本体,所述粉碎机本体上端可拆卸设置有上盖,所述粉碎机本体一侧固定设置有粉碎压力进口,所述粉碎机本体内部固定设置有粉碎环,所述粉碎环内部形成粉碎腔,所述粉碎环侧壁等距开设有六个斜孔,所述粉碎机本体内中部固定设置有出料管,所述出料管下端固定连接有第一连接管,所述粉碎机本体下端中部倾斜设置有第二连接管,所述第二连接管上端伸入粉碎腔内部,所述第二连接管下端可拆卸连接有进料管,所述进料管内部且靠近第二连接管的一端设置有文丘里管。本实用新型中,该装置可以实现降低粉碎粒径,增加粉碎时间,提高粉碎效率,提高设备适用性和运行稳定性。


