授权公布号:CN111786240B
阵列式LED灯珠导线生产系统
有效
申请
2020-07-13
申请公布
2020-10-16
授权
2022-03-25
预估到期
2040-07-13
| 申请号 | CN202010670114.2 |
| 申请日 | 2020-07-13 |
| 申请公布号 | CN111786240A |
| 申请公布日 | 2020-10-16 |
| 授权公布号 | CN111786240B |
| 授权公告日 | 2022-03-25 |
| 分类号 | H01R43/28;H01R43/02;H01L33/62 |
| 分类 | 基本电气元件; |
| 申请人名称 | 安徽蓝锐电子科技有限公司 |
| 申请人地址 | 安徽省安庆市岳西县莲云乡平岗村(县经济开发区)蓝锐电子科技有限公司 |
专利法律状态
2022-03-25
授权
状态信息
授权
2020-10-16
公布
状态信息
公布
摘要
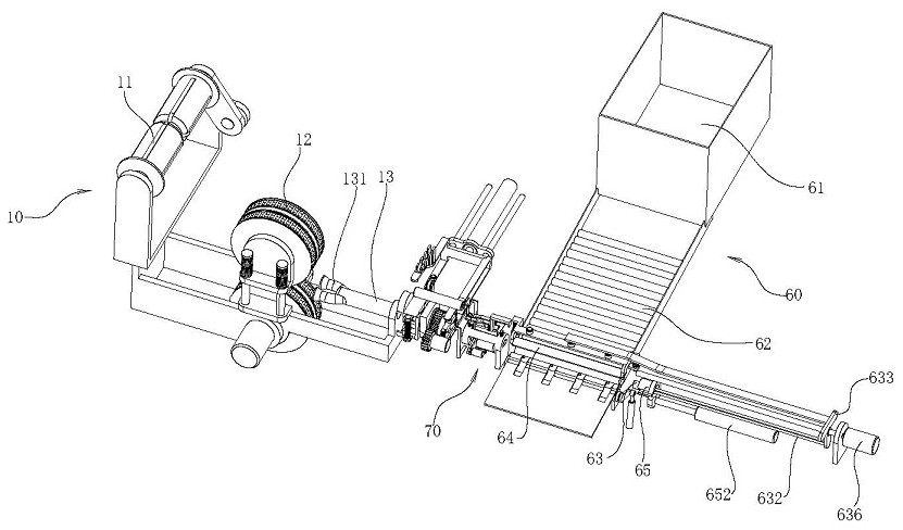
本发明涉及一种阵列式LED灯珠导线生产系统,包括线束导料器,所述线束导料器的出口设置有保护套穿套装置,所述保护套穿套装置用于将保护套穿套在线束上,所述保护套穿套装置的旁侧还设置有线束切段装置,所述线束切段装置用于将线束切成等长的线束段,在实施对LED光源焊接线束之前,需要实施对线束进行生产,在实施对焊接用的线束生产时,线束的卷料通过线束导料器导出至保护套穿套装置内,而后将保护套穿套至线束上,而后线束切段装置将线束切成等长的线束,从而生产出作为焊接LED光源用的成品线束,该生产系统方便后续的焊接生产使用,提高后续LED光源的加工效率。


