授权公布号:CN210650776U
一种多功能厨房用鸡骨剪
有效
申请
2019-06-20
申请公布
1970-01-01
授权
2020-06-02
预估到期
2029-06-20
| 申请号 | CN201920932085.5 |
| 申请日 | 2019-06-20 |
| 授权公布号 | CN210650776U |
| 授权公告日 | 2020-06-02 |
| 分类号 | B26B13/08 |
| 分类 | 手动切割工具;切割;切断; |
| 申请人名称 | 广东金辉刀剪股份有限公司 |
| 申请人地址 | 广东省阳江市佛山禅城(阳东万象)产业转移工业园赤城八路A8号 |
专利法律状态
2020-06-02
授权
状态信息
授权
摘要
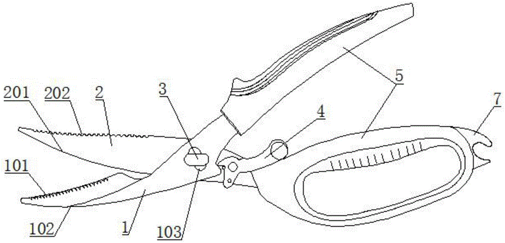
本实用新型公开了一种多功能厨房用鸡骨剪,包括第一剪片和第二剪片,所述第一剪片和所述第二剪片交叉设置,且所述第二剪片的交叉点上固定安装有连接钉,所述第一剪片的交叉点上设有与所述连接钉配合的连接孔,且所述连接孔与所述连接钉可拆卸连接;所述第一剪片和所述第二剪片的尾端均安装有手柄。有益效果在于:通过在第二剪片上设置锁扣,利用锁扣对一体成型在第一剪片上的卡接部进行位置限定,从而使两个剪片能够处于不同功能位,方便鸡骨剪的使用、收纳和清洗,保证鸡骨剪使用的灵活性;不仅可作为剪刀剪切食材,而且拆开后,能够作为切刀使用;有弹簧固定装置设计,拆装左右剪时,弹簧不会脱落,固定在一边剪片上,拆卸、安装容易。


