授权公布号:CN213882967U
一种刀座磨刀器装置
有效
申请
2020-11-21
申请公布
1970-01-01
授权
2021-08-06
预估到期
2030-11-21
| 申请号 | CN202022720152.2 |
| 申请日 | 2020-11-21 |
| 授权公布号 | CN213882967U |
| 授权公告日 | 2021-08-06 |
| 分类号 | A47J47/16;B24D15/08 |
| 分类 | 家具;家庭用的物品或设备;咖啡磨;香料磨;一般吸尘器; |
| 申请人名称 | 广东金辉刀剪股份有限公司 |
| 申请人地址 | 广东省阳江市佛山禅城(阳东万象)产业转移工业园赤城八路A8号 |
专利法律状态
2021-08-06
授权
状态信息
授权
摘要
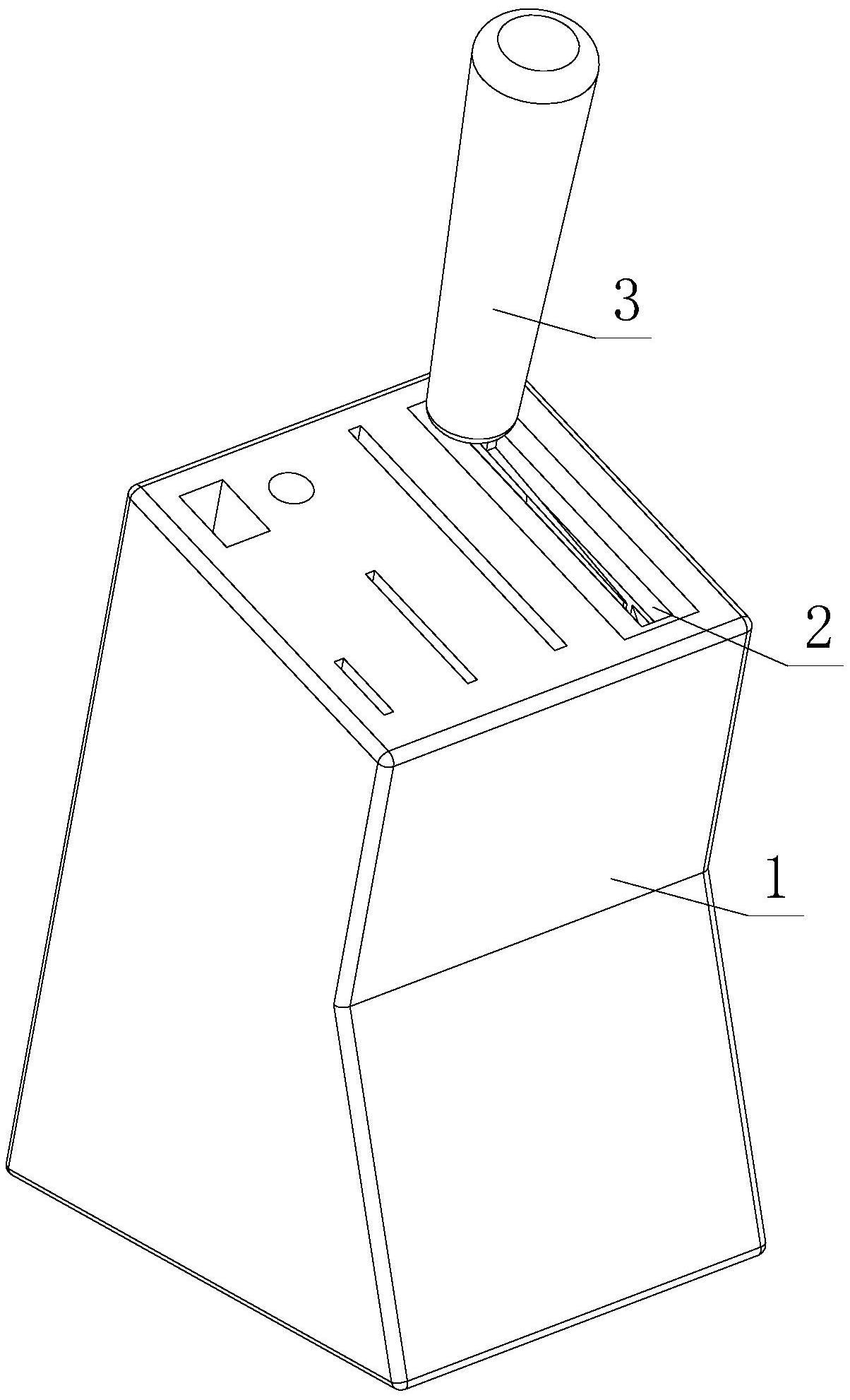
本实用新型公开了一种刀座磨刀器装置,涉及厨房用具技术领域。包括刀座主体、磨刀器件及刀具,所述刀座主体上依次设有插刀槽与磨刀槽,所述磨刀器件安装于磨刀槽中,所述刀具插接于磨刀器件中,所述磨刀器件包括插座与磨刀石,所述磨刀石嵌装于插座的一端,所述插座上开设有插口。该刀座磨刀器装置,改善刀座的结构设计,在刀座主体上设置磨刀槽,并安装上磨刀器件,使两者合二为一,当需要磨刀时,就不会发生找不到磨刀器的现象,且不仅可以节省以往磨刀器的生产成本,同时每当使用者拿出或放进去刀具通过磨刀器件时,就不自觉地完成了磨刀动作,也方便对厨房其他使用的刀具进行磨削,使用方便、便捷。


