授权公布号:CN208177331U
一种胶黏剂制配罐
有效
申请
2018-03-07
申请公布
1970-01-01
授权
2018-12-04
预估到期
2028-03-07
| 申请号 | CN201820312330.8 |
| 申请日 | 2018-03-07 |
| 授权公布号 | CN208177331U |
| 授权公告日 | 2018-12-04 |
| 分类号 | B01F7/18;B01F15/02;B01F15/06 |
| 分类 | 一般的物理或化学的方法或装置; |
| 申请人名称 | 广东汉鸿木业有限公司 |
| 申请人地址 | 广东省韶关市浈江区产业转移工业园广东汉鸿木业有限公司 |
专利法律状态
2023-11-28
专利权的保全及其解除
状态信息
专利权保全的解除;IPC(主分类):B01F7/18;专利号:ZL2018203123308;申请日:20180307;授权公告日:20181204;登记生效日:;解除日:20230922
2020-10-30
专利权的保全及其解除
状态信息
专利权的保全;IPC(主分类):B01F7/18;申请日:20180307;授权公告日:20181204;登记生效日:20200922
2018-12-04
授权
状态信息
授权
摘要
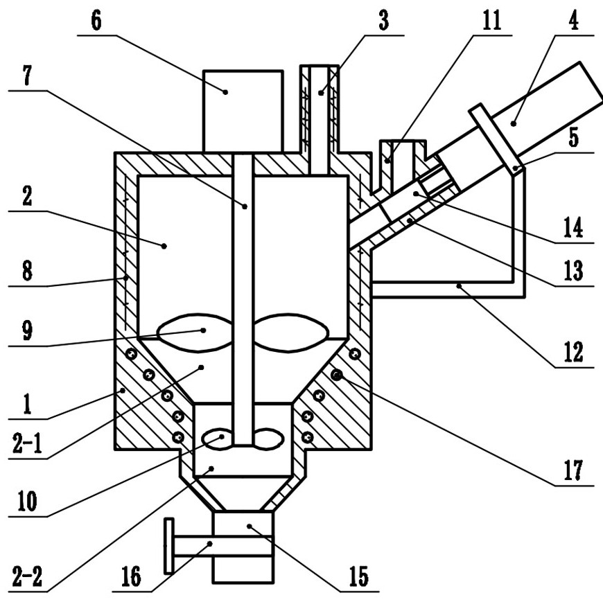
本实用新型公开了一种胶黏剂制配罐,包括桶体,所述桶体的内部设有空腔,所述空腔的下端为漏斗状,所述空腔的下端设有出料口,所述出料口的下端固定有出料管,所述出料管上安装有阀门,所述桶体的上端固定有加料口,所述桶体的上端安装有电机,所述电机的转轴穿过桶体的上壁面并与竖杆联接,所述竖杆位于空腔内,所述竖杆的中部固定有第一扇叶。本装置通过设置二次搅拌,增强胶水原料和辅料的搅拌,确保胶水与辅料的混合程度高,具有复合标准的胶黏剂,通过在加料口设置电阻丝给胶水预热,使胶水变稀,更容易混合,通过在桶体的壁面内设置电阻丝和加热管,给空腔内的混合物加热,确保粘稠度,通过设置加热管,确保出料口不会堵塞。


