授权公布号:CN208575980U
一种用于家具生产的毛竹切割架
有效
申请
2018-05-31
申请公布
1970-01-01
授权
2019-03-05
预估到期
2028-05-31
| 申请号 | CN201820847879.7 |
| 申请日 | 2018-05-31 |
| 授权公布号 | CN208575980U |
| 授权公告日 | 2019-03-05 |
| 分类号 | B27J1/00 |
| 分类 | 木材或类似材料的加工或保存;一般钉钉机或钉U形钉机; |
| 申请人名称 | 浙江德长竹木有限公司 |
| 申请人地址 | 浙江省丽水市庆元县工业园区竹口工业园区西区6号 |
专利法律状态
2019-03-05
授权
状态信息
授权
摘要
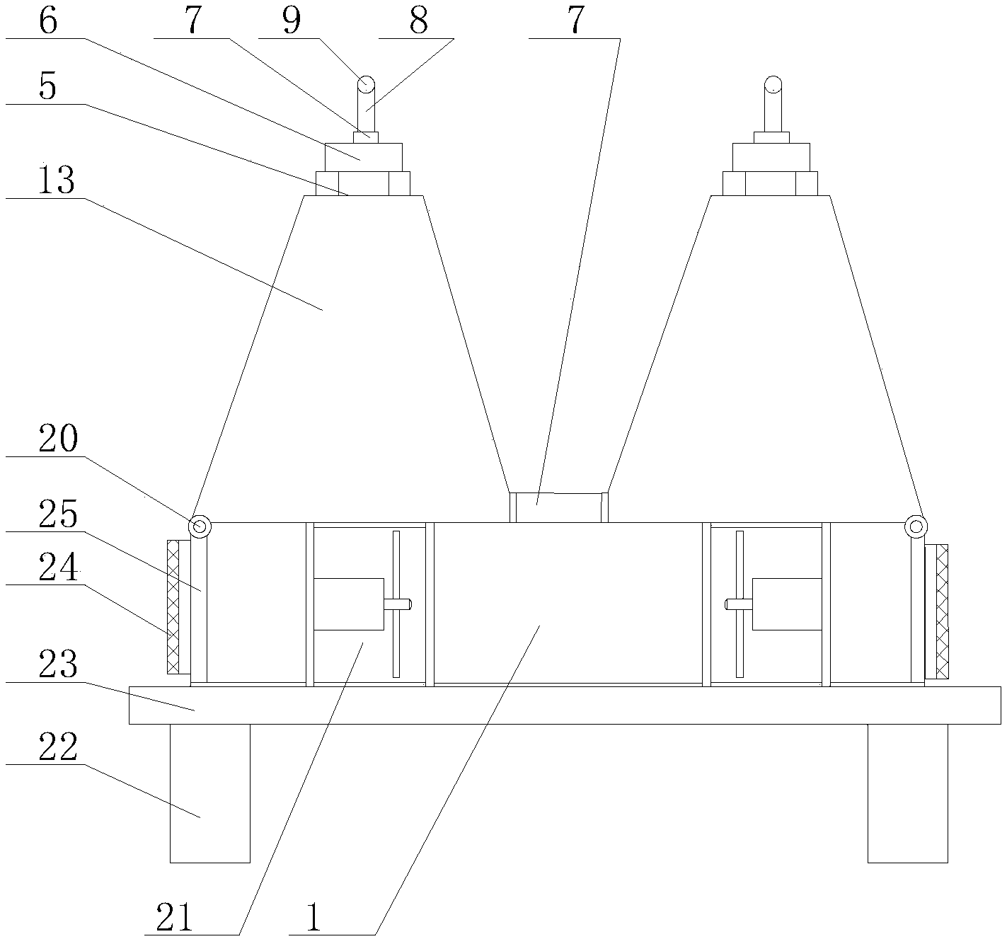
本实用新型公开了一种用于家具生产的毛竹切割架,包括底部外壳、电动机、驱动轮槽、轴承、转轴一、限位板、清洁管、螺纹杆、转柄、固定板、摩擦片、固定螺栓、切割架体、移动槽、驱动轮、转杆、齿轮一、链条、齿轮二、转轴二、管道式吸风机、支腿、支板、滤尘管和密封板。本实用新型通过在切割架体的顶端设置驱动轮,通过电动机带动驱动轮的转动,从而实现放置在切割架体顶端的毛竹的一端,从而实现对毛竹的分段切割,解决了由于部分毛竹长度较长且质量较大,在运输储存时较为困难,也不适用于常规的分片机的分片。


