授权公布号:CN216490581U
一种新型数字手机的显示屏总成
有效
申请
2021-12-14
申请公布
1970-01-01
授权
2022-05-10
预估到期
2031-12-14
| 申请号 | CN202123166798.1 |
| 申请日 | 2021-12-14 |
| 授权公布号 | CN216490581U |
| 授权公告日 | 2022-05-10 |
| 分类号 | H04M1/02;H05K7/20;B01D46/10 |
| 分类 | 电通信技术; |
| 申请人名称 | 深圳市乐源智能股份有限公司 |
| 申请人地址 | 广东省深圳市龙岗区坂田街道岗头社区岗溪路3号创信时代大厦601整层 |
专利法律状态
2022-05-10
授权
状态信息
授权
摘要
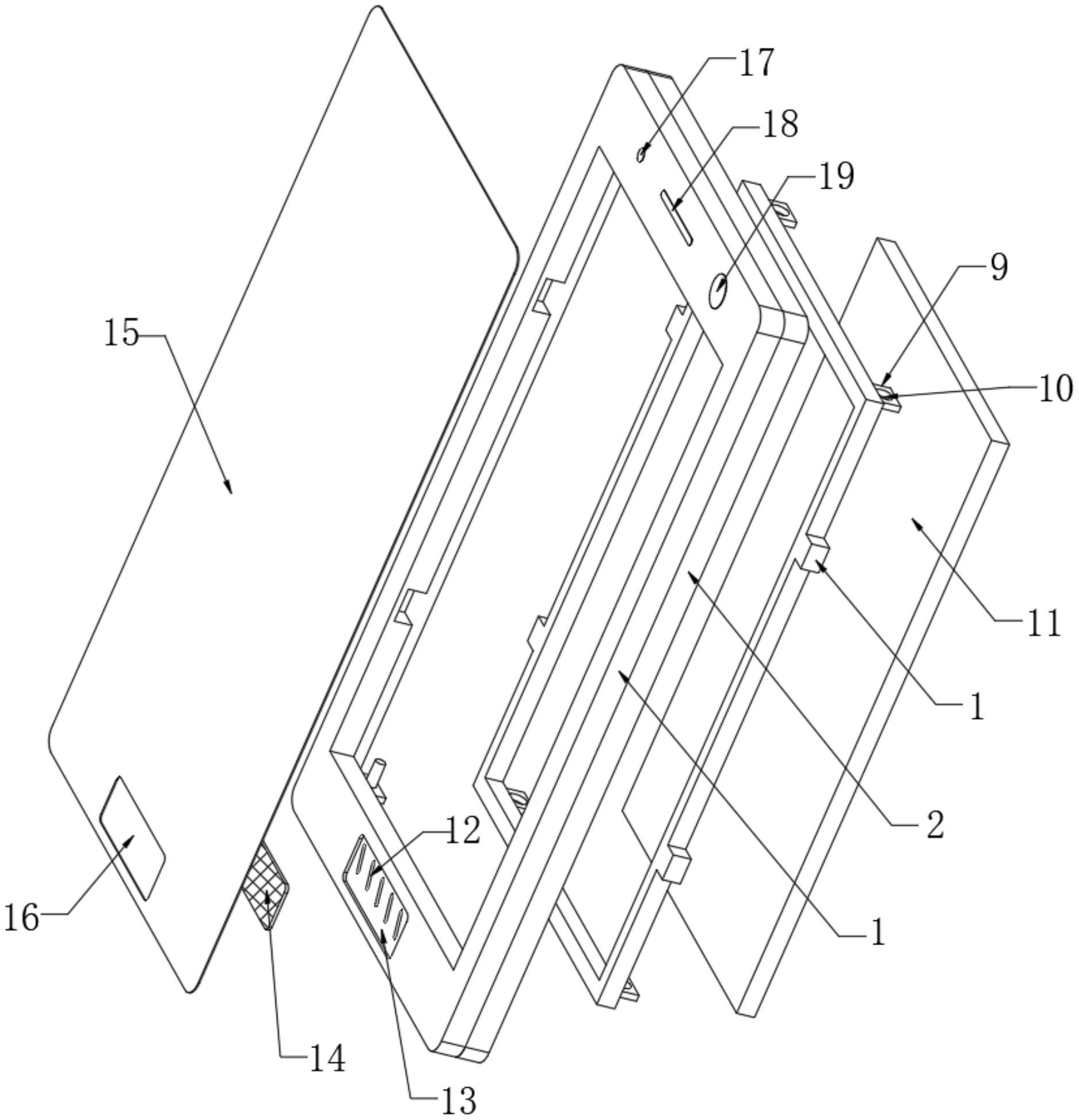
本实用新型公开了一种新型数字手机的显示屏总成,包括显示屏外框架与散热框,所述显示屏外框架的后侧固定连接有回形框,所述回形框的内部固定连接有多个卡接组件,所述散热框的两侧均固定连接有两个限位柱,所述散热框的后侧固定连接有多个定位块,多个所述定位块的表面均贯穿开设有定位孔,所述散热框的内部固定连接有显示屏主体,所述显示屏外框架的背面开设有散热孔。本实用新型,通过移动安装板,使得连接弹簧发生压缩,再将散热框卡入到显示屏外框架的内部,使得限位柱卡入到卡接槽内部,然后再松开安装板,使得卡接轴卡入到定位孔的内部,完成显示屏主体的固定,拆卸比较简单,不易造成显示屏损坏。


