授权公布号:CN216090494U
一种舒适便携佩戴的血氧仪
有效
申请
2021-05-12
申请公布
1970-01-01
授权
2022-03-22
预估到期
2031-05-12
| 申请号 | CN202121010704.9 |
| 申请日 | 2021-05-12 |
| 授权公布号 | CN216090494U |
| 授权公告日 | 2022-03-22 |
| 分类号 | A61B5/1455;A61B5/0205;B65H75/38;B65H75/44 |
| 分类 | 医学或兽医学;卫生学; |
| 申请人名称 | 深圳市乐源智能股份有限公司 |
| 申请人地址 | 广东省深圳市龙岗区坂田街道杨美社区长发中路3号云里智能园6栋一层103 |
专利法律状态
2022-03-22
授权
状态信息
授权
摘要
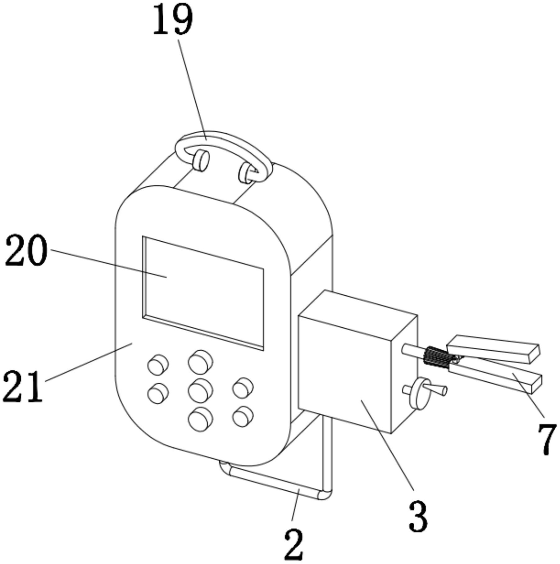
本实用新型属于血氧仪技术领域,尤其为一种舒适便携佩戴的血氧仪,针对现有的血氧仪大多在进行携带的时候容易产生数据线相互缠绕的现象,从而造成使用者在使用的时候操作不便的问题,现提出如下方案,其包括血氧仪本体,所述血氧仪本体的外侧固定安装有壳体,血氧仪本体的底部固定安装有数据线,所述壳体的内部转动安装有蜗杆与蜗轮,蜗杆与蜗轮相互啮合,蜗轮的后侧固定安装有绕线轮,数据线绕设在绕线轮的外侧,数据线的一端延伸至壳体的外侧并固定安装有手指夹板。本实用新型结构设计合理,横杆与竖直杆的设置使得转盘无法发生自转的可能,提高蜗杆的稳定性,使得数据线能够稳定的保证在特定的长度,可靠性高。


