授权公布号:CN113540138B
一种多光谱图像传感器及其成像模块
有效
申请
2021-06-03
申请公布
2021-10-22
授权
2024-03-12
预估到期
2041-06-03
| 申请号 | CN202110621865.X |
| 申请日 | 2021-06-03 |
| 申请公布号 | CN113540138A |
| 申请公布日 | 2021-10-22 |
| 授权公布号 | CN113540138B |
| 授权公告日 | 2024-03-12 |
| 分类号 | H01L27/146 |
| 分类 | 基本电气元件; |
| 申请人名称 | 奥比中光科技集团股份有限公司 |
| 申请人地址 | 广东省深圳市南山区粤海街道学府路63号高新区联合总部大厦11-13楼 |
专利法律状态
2024-03-12
授权
状态信息
授权
2021-11-09
实质审查的生效
状态信息
实质审查的生效;IPC(主分类):H01L27/146;申请日:20210603
2021-10-22
公布
状态信息
公布
摘要
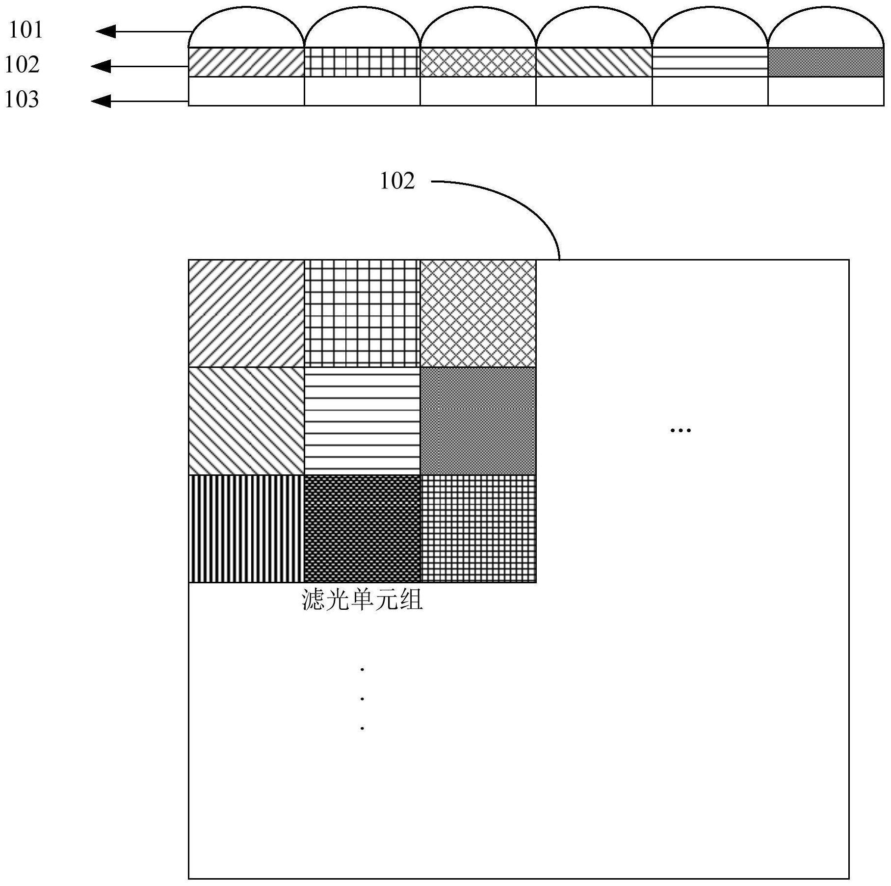
本发明适用于传感器技术领域,提供了一种多光谱图像传感器及其成像模块,多光谱传感器包括:沿入射光方向依次排列的微透镜阵列、滤光片阵列以及感光芯片;感光芯片,包括多个像素单元;滤光片阵列,包括至少一个滤光单元组;每个滤光单元组包含多个对应不完全相同的预设波长的滤光片;每个不同的滤光片用于通过入射光线中滤光片对应的预设波长的光线;微透镜阵列,包括至少一个微透镜单元,微透镜单元用于汇聚入射光线,并使得汇聚后的入射光线经过滤光片阵列聚焦于感光芯片上,本发明提供的多光谱图像传感器包含有多个对应不完全相同的预设波长的滤光片,以实现在成像时同时采集不同光谱的目的,以提高成像精度、效率以及准确性。


