授权公布号:CN206457912U
一种地漏连接件
有效
申请
2016-12-23
申请公布
1970-01-01
授权
2017-09-01
预估到期
2026-12-23
| 申请号 | CN201621424321.5 |
| 申请日 | 2016-12-23 |
| 授权公布号 | CN206457912U |
| 授权公告日 | 2017-09-01 |
| 分类号 | E03F5/04 |
| 分类 | 给水;排水; |
| 申请人名称 | 杭州鸿雁管道系统科技有限公司 |
| 申请人地址 | 浙江省杭州市临安市青山湖街道南环路91号 |
专利法律状态
2017-09-01
授权
状态信息
授权
摘要
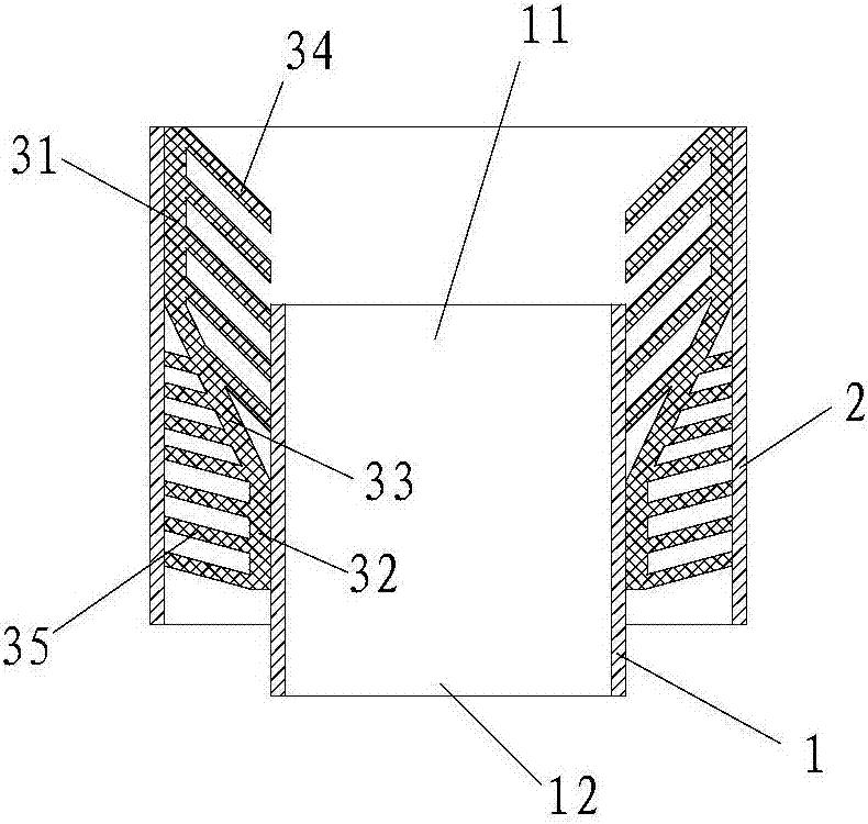
本实用新型公开了一种地漏连接件,包括用于连接金属地漏和塑料地漏体的内管、套设在所述内管外的外管以及设于所述内管和外管之间保持两者间距的衬套。本实用新型解决现有住房装修塑料地漏体与金属地漏不易连接的问题,并具有结构简单,连接更换金属地漏方便的优点。用于塑料地漏体与金属地漏连接时,内管连接地漏体和金属地漏,外管上端抵接金属地漏的外边缘、底端抵接地漏体的对应部位,上下限定起支撑作用。


