授权公布号:CN212857919U
一种乐器生产用锣边机
有效
申请
2020-08-26
申请公布
1970-01-01
授权
2021-04-02
预估到期
2030-08-26
| 申请号 | CN202021801889.0 |
| 申请日 | 2020-08-26 |
| 授权公布号 | CN212857919U |
| 授权公告日 | 2021-04-02 |
| 分类号 | B23C3/12 |
| 分类 | 机床;不包含在其他类目中的金属加工; |
| 申请人名称 | 广东红棉乐器股份有限公司 |
| 申请人地址 | 广东省河源市高新技术开发区高新六路28号 |
专利法律状态
2021-04-02
授权
状态信息
授权
摘要
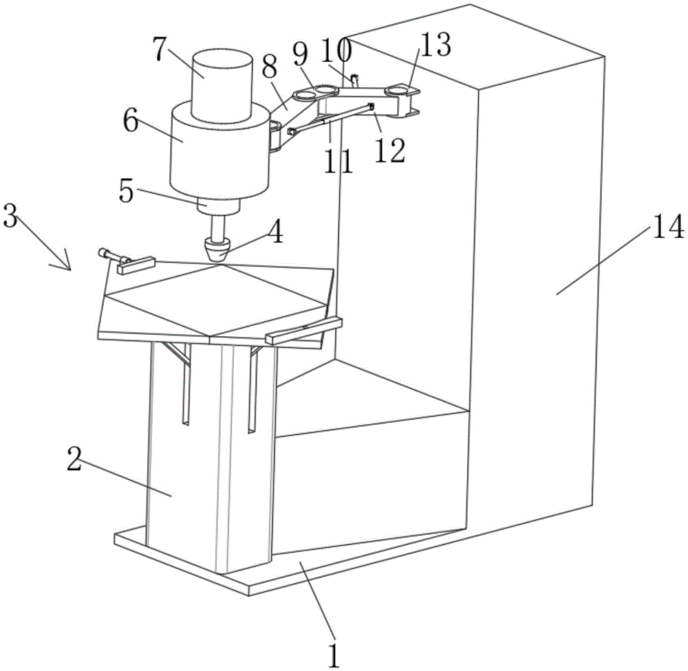
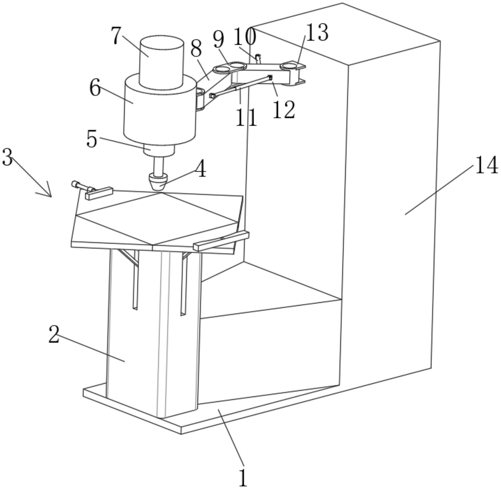
本实用新型公开了一种乐器生产用锣边机,包括底板、撑柱和主机箱,所述底板的顶面两侧分别固定有撑柱和主机箱,所述撑柱的顶面转动连接有托板机构,所述主机箱相对撑柱的侧壁上部固定有一号转动座,所述一号转动座的内部转动连接有二号臂的一端。本实用新型中,通过控制二号液压缸和三号液压缸对一号臂与二号臂二者之间的夹角进行控制,从而改变连接座的相对位置,与传统的手工锣边,该锣边机能够提高锣边精度、降低操作员工的技能要求熟练,保证效率和品质;通过设置四号液压缸驱动其翻折折叠的托板机构,能够减小锣边机的整体尺寸,方便操作人员根据需要灵活调控锣边操作台面的大小,结构简单,实用性强。


