授权公布号:CN216440145U
一种中药浓缩提取排渣一体装置
有效
申请
2021-11-10
申请公布
1970-01-01
授权
2022-05-06
预估到期
2031-11-10
| 申请号 | CN202122748234.2 |
| 申请日 | 2021-11-10 |
| 授权公布号 | CN216440145U |
| 授权公告日 | 2022-05-06 |
| 分类号 | B01D36/00;B30B9/06 |
| 分类 | 一般的物理或化学的方法或装置; |
| 申请人名称 | 大理白族自治州中药制药有限公司 |
| 申请人地址 | 云南省大理白族自治州巍山县南诏镇城东路66号 |
专利法律状态
2022-05-06
授权
状态信息
授权
摘要
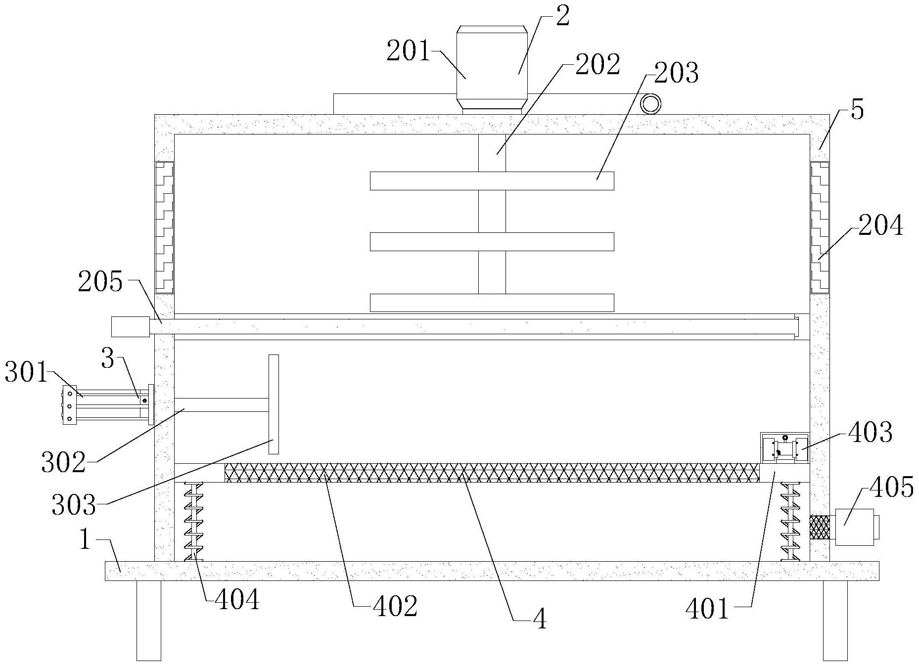
本实用新型公开了一种中药浓缩提取排渣一体装置,涉及中药提取技术领域。该中药浓缩提取排渣一体装置,包括底座、搅拌机构和辅助组件,所述底座的顶部固定安装有箱体,所述搅拌机构包括电机、旋杆、搅拌叶片、加热丝和挡板,所述辅助组件包括挤压机构和筛分机构,挤压机构位于筛分机构的上方。该中药浓缩提取排渣一体装置,通过部件间的配合使用,对原料进行加热搅拌,代替人工处理药材,对加工后的原料进行传输,取代传统的加工装置,提高加工的工作效率,对挤压后的药材进行筛分,提高浓缩提取药液的质量,减少药液中的杂质,防止残渣混杂在药液中,影响后续使用,代替人工清理残渣,结构简单,使用方便,实用性强。


