授权公布号:CN216089719U
一种接待沙发
有效
申请
2021-10-22
申请公布
1970-01-01
授权
2022-03-22
预估到期
2031-10-22
| 申请号 | CN202122559923.9 |
| 申请日 | 2021-10-22 |
| 授权公布号 | CN216089719U |
| 授权公告日 | 2022-03-22 |
| 分类号 | A47C17/04;A47C17/86 |
| 分类 | 家具;家庭用的物品或设备;咖啡磨;香料磨;一般吸尘器; |
| 申请人名称 | 北京华谛盟家具有限公司 |
| 申请人地址 | 北京市顺义区赵全营镇兆丰产业基地 |
专利法律状态
2022-03-22
授权
状态信息
授权
摘要
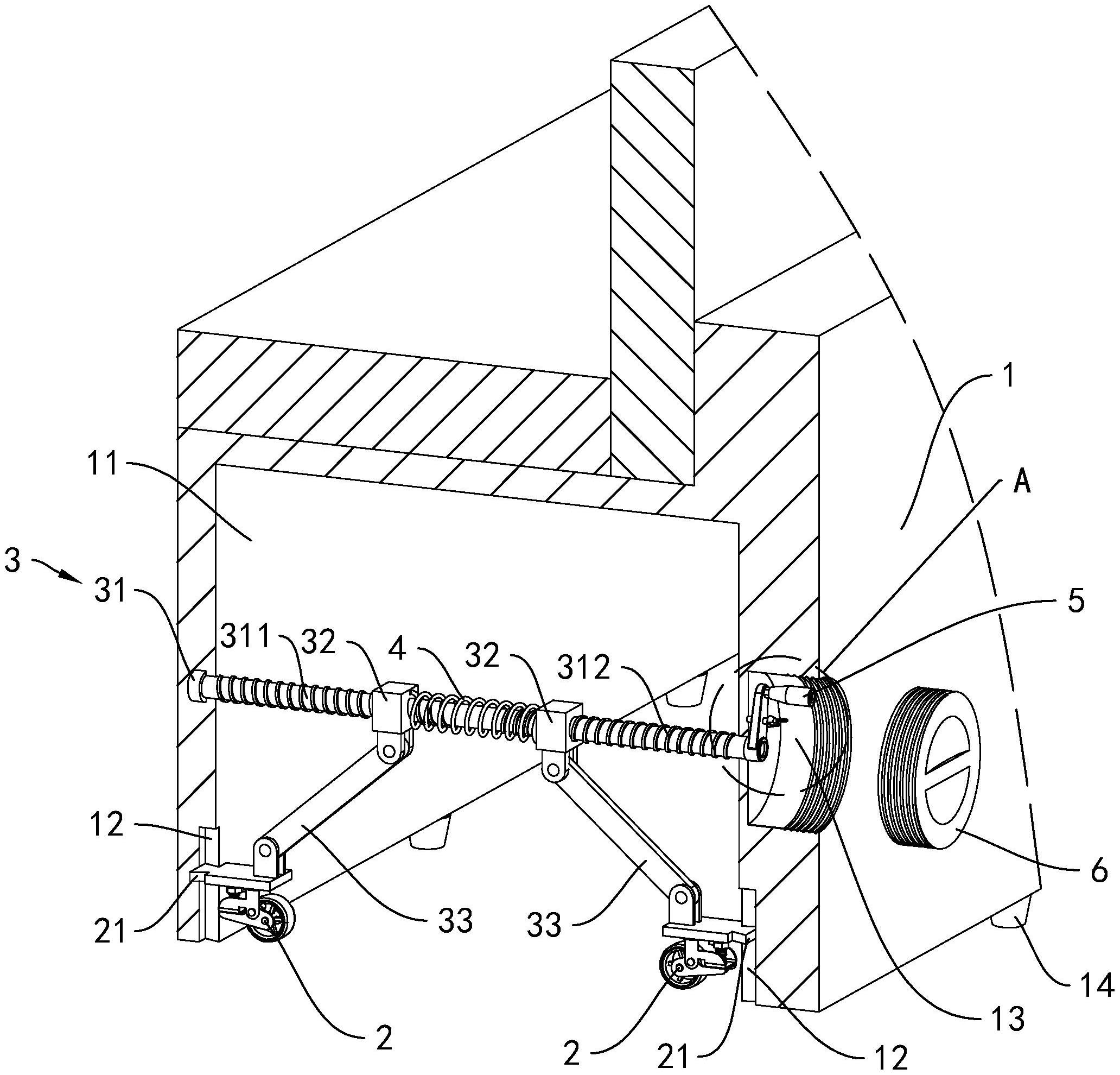
本申请涉及办公设备的领域,尤其是一种接待沙发,其包括沙发主体,所述沙发主体的内部设置有与所述沙发主体底端相连通的空腔,所述空腔中的侧壁上设置有多个沿竖直方向滑动的移动件,所述移动件两两一组沿所述沙发主体的长度方向设置有多组;每组所述移动件的上方设置有驱动两个所述移动件沿竖直方向同步滑动的驱动组件,当所述移动件自所述空腔底端伸出时,所述移动件能够平稳支撑所述沙发主体。本申请具有在移动搬运的过程中无需多人抬起,更加省力且更加方便的效果。


