授权公布号:CN216220848U
一种可调节的办公椅
有效
申请
2021-10-22
申请公布
1970-01-01
授权
2022-04-08
预估到期
2031-10-22
| 申请号 | CN202122559893.1 |
| 申请日 | 2021-10-22 |
| 授权公布号 | CN216220848U |
| 授权公告日 | 2022-04-08 |
| 分类号 | A47C7/00;A47C7/40 |
| 分类 | 家具;家庭用的物品或设备;咖啡磨;香料磨;一般吸尘器; |
| 申请人名称 | 北京华谛盟家具有限公司 |
| 申请人地址 | 北京市顺义区赵全营镇兆丰产业基地 |
专利法律状态
2022-04-08
授权
状态信息
授权
摘要
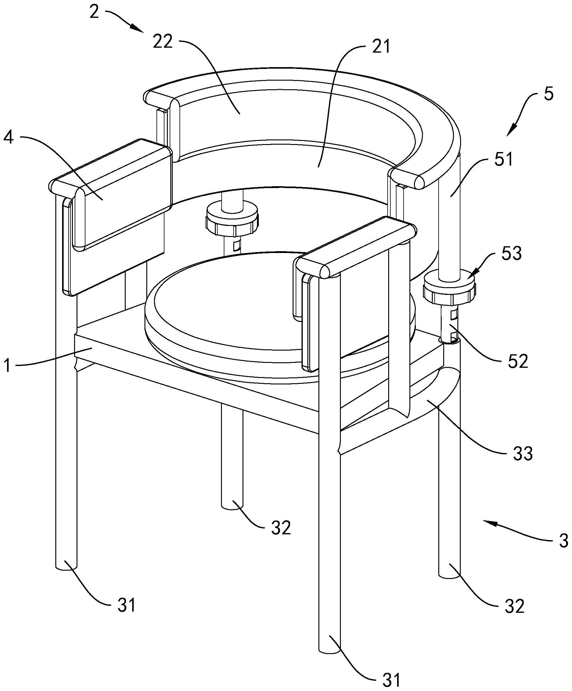
本申请涉及一种可调节的办公椅,涉及办公家具的领域,其包括椅座、对椅座进行支撑的支撑结构以及靠背,其特征在于:所述靠背与所述支撑结构之间设置有伸缩套,所述靠背通过所述伸缩套与所述支撑结构相连;所述伸缩套包括外套管与内套管,所述外套管与所述靠背相连接,所述内套管与所述支撑结构相连接,所述内套管背离所述支撑结构的一端滑动于所述外套管的内孔中,所述外套管与所述内套管之间设置有将所述内套管与所述外套管相对位置锁定的固定组件。本申请具有在身高不同的人使用时,可以对靠背进行调节,给使用者更加舒服的使用体验的效果。


