授权公布号:CN217210366U
罐式煅烧炉变量式排料机构
有效
申请
2022-04-27
申请公布
1970-01-01
授权
2022-08-16
预估到期
2032-04-27
| 申请号 | CN202220990978.7 |
| 申请日 | 2022-04-27 |
| 授权公布号 | CN217210366U |
| 授权公告日 | 2022-08-16 |
| 分类号 | F27D3/00 |
| 分类 | 炉;窑;烘烤炉;蒸馏炉〔4〕; |
| 申请人名称 | 济宁碳素集团有限公司 |
| 申请人地址 | 山东省济宁市任城区二十里铺镇济北高新技术产业园 |
专利法律状态
2023-06-20
专利申请权、专利权的转移
状态信息
专利权的转移;IPC(主分类):F27D3/00;登记生效日:20230607;变更事项:专利权人;变更前:济宁碳素集团有限公司;变更后:济宁科能新型碳材料科技有限公司;变更事项:地址;变更前:272000 山东省济宁市任城区任城大道99号(济宁碳素集团有限公司);变更后:272000 山东省济宁市任城区二十里铺镇济北高新技术产业园;变更事项:专利权人;变更后:济宁碳素集团有限公司
2022-08-16
授权
状态信息
授权
摘要
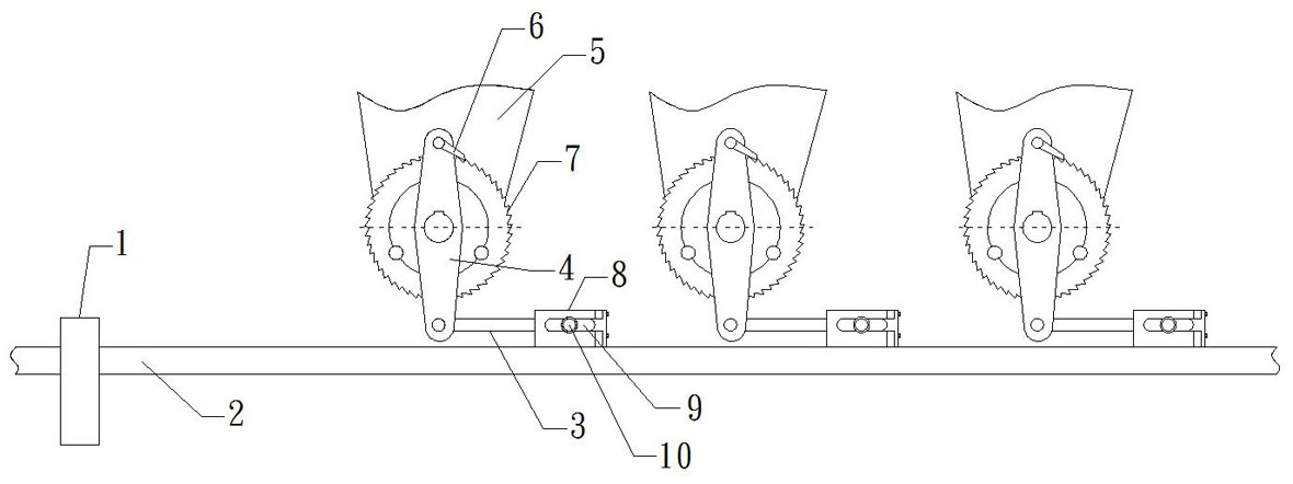
本实用新型涉及一种罐式煅烧炉变量式排料机构,水平拉杆延其长度方向设置有多个铰接座,所述摇臂杆的一端具有第一铰接销轴,所述摇臂杆的另一端具有第二铰接销轴,所述棘轮杆的一端具有可插入所述第一铰接销轴第一销孔,所述铰接座上具有可插入所述第二铰接销的第二销孔,所述第二销孔为长度A可调的长条孔,其长度方向与水平拉杆的长度方向平行。本实用新型具有以下有益效果:通过改变煅烧炉个别罐体排料阀旋转角度,突破原有煅烧炉排料系统中所有罐体统一定量排料的弊端,避免不良罐体受排料系统统排、统停模式影响造成的损坏加剧情况,消除因单一罐体故障造成的停排现象。


