授权公布号:CN211886198U
一种苯酐焚烧炉烟气脱硫防堵塞喷头
有效
申请
2019-12-30
申请公布
1970-01-01
授权
2020-11-10
预估到期
2029-12-30
| 申请号 | CN201922417498.2 |
| 申请日 | 2019-12-30 |
| 授权公布号 | CN211886198U |
| 授权公告日 | 2020-11-10 |
| 分类号 | B01D53/78;B01D53/48 |
| 分类 | 一般的物理或化学的方法或装置; |
| 申请人名称 | 济宁碳素集团有限公司 |
| 申请人地址 | 山东省济宁市任城区任城大道99号 |
专利法律状态
2020-11-10
授权
状态信息
授权
摘要
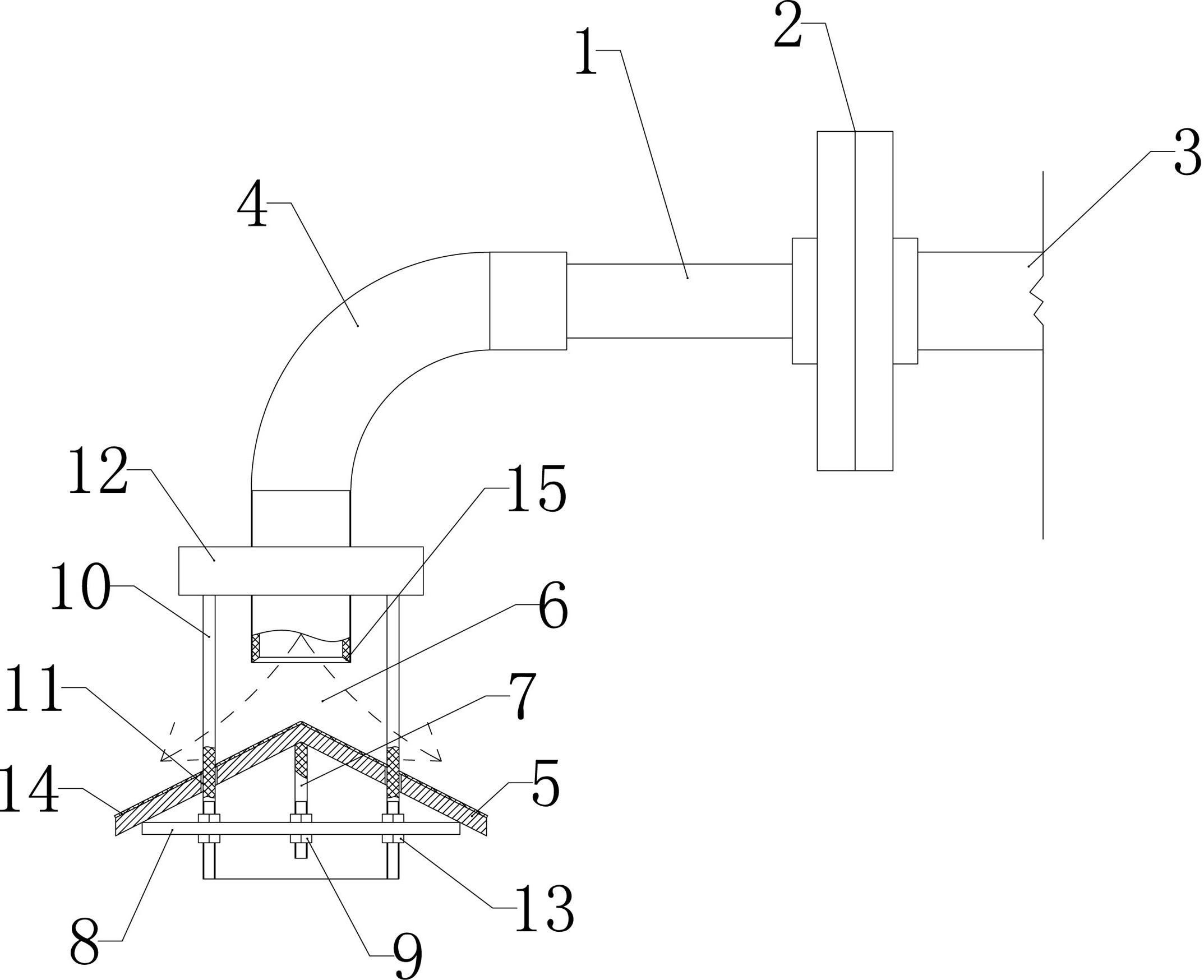
本实用新型涉及废气处理工序配件领域,尤其是一种苯酐焚烧炉烟气脱硫防堵塞喷头,包括喷头支管,所述喷头支管通过连接法兰与外部脱硫塔主体内部相连通,在所述喷头支管的喷口处旋合连接设有弯管,在所述弯管的竖直段的下方设有与其同轴设置的伞形椎体,所述伞形椎体的顶部表面与所述弯管出口部位形成供气液喷出的环形喷流空间,在所述伞形椎体的下方设有用于调节其升降的限位升降组件。本喷头的喷出口处可以根据需要进行调节、便于更换,在进行调解时可以采用粗调节的方式直接旋转升降盘即可带动整个伞形椎体及限位升降组件进行升降,达到调节环形喷流空间大小的目的。


