授权公布号:CN208222531U
蓄热氧化炉反抽阀防泄漏装置和蓄热氧化炉
有效
申请
2018-03-02
申请公布
1970-01-01
授权
2018-12-11
预估到期
2028-03-02
| 申请号 | CN201820294021.2 |
| 申请日 | 2018-03-02 |
| 授权公布号 | CN208222531U |
| 授权公告日 | 2018-12-11 |
| 分类号 | F23G7/06 |
| 分类 | 燃烧设备;燃烧方法; |
| 申请人名称 | 济宁碳素集团有限公司 |
| 申请人地址 | 山东省济宁市任城大道99号 |
专利法律状态
2018-12-11
授权
状态信息
授权
摘要
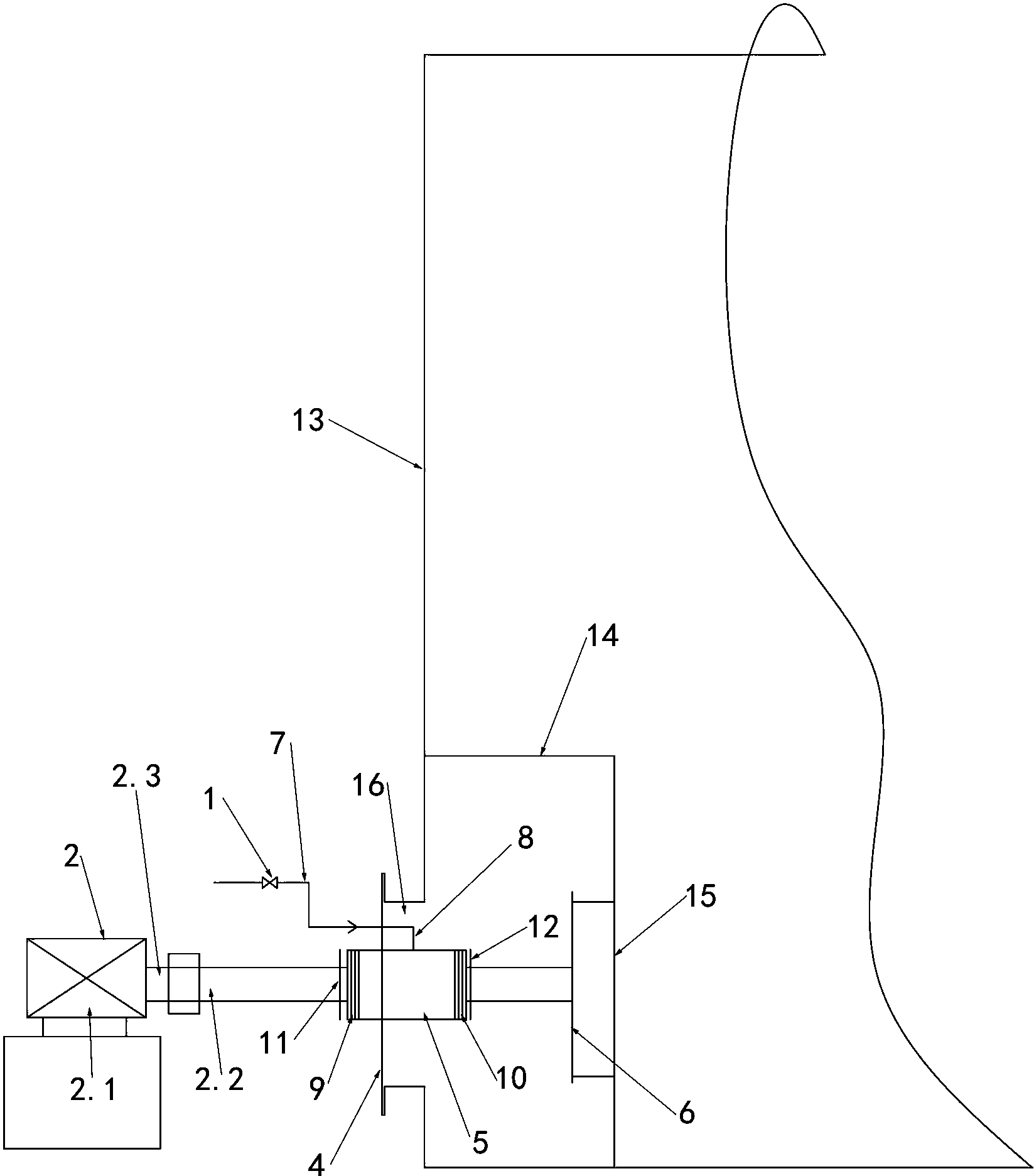
本实用新型涉及一种蓄热氧化炉反抽阀防泄漏装置,包括仪表气调节阀门、气缸、密封圈一、连接法兰、气封外套管、阀板和管道,气缸包括缸体、反抽阀阀杆和活塞杆,气封外套管的中心部位开设有圆孔,贯穿所述圆孔的反抽阀阀杆的第一端与所述阀板固定连接,反抽阀阀杆的一端连接活塞杆,气封外套管的外壁上固定连接连接法兰,气封外套管侧壁上有与其内孔相连通的通气连接口,气封外套管上设置有气封元件,管道的一端连接有气源,管道的另一端连接通气连接口,管道上设置有仪表气调节阀门。本实用新型还提供一种蓄热氧化炉。本实用新型具有以下有益效果:加装的气封能有效阻挡反抽通道中的废气向外界泄漏,从而达到改善操作环境、防止大气污染的目的。


