授权公布号:CN209047715U
一种多功能储物床
有效
申请
2017-12-18
申请公布
1970-01-01
授权
2019-07-02
预估到期
2027-12-18
| 申请号 | CN201721778721.0 |
| 申请日 | 2017-12-18 |
| 授权公布号 | CN209047715U |
| 授权公告日 | 2019-07-02 |
| 分类号 | A47C17/52;E05F1/10 |
| 分类 | 家具;家庭用的物品或设备;咖啡磨;香料磨;一般吸尘器; |
| 申请人名称 | 北京五木家具有限公司 |
| 申请人地址 | 北京市大兴区黄村镇西庄工业区11号 |
专利法律状态
2019-07-02
授权
状态信息
授权
摘要
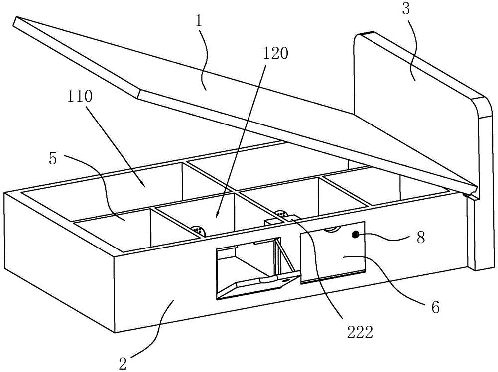
一种多功能储物床,包括床板、用于支撑床板的侧板以及床头,所述侧板内设置有床底板,所述侧板与床地板形成储物腔,所述床板与侧板一端转动连接,所述储物腔内通过隔板分隔为两个独立的储藏室,每个储藏室靠近侧板一侧设置有若干个小型的收纳腔,所述收纳腔侧板上与所述收纳腔对应位置处设置有与侧板活动连接的箱门。其优点是方便用户对储物床内存放的小型物品进行拿取。


