授权公布号:CN209143393U
一种收边机支撑机构
有效
申请
2018-10-21
申请公布
1970-01-01
授权
2019-07-23
预估到期
2028-10-21
| 申请号 | CN201821708948.2 |
| 申请日 | 2018-10-21 |
| 授权公布号 | CN209143393U |
| 授权公告日 | 2019-07-23 |
| 分类号 | B65H75/14;B65H75/24 |
| 分类 | 输送;包装;贮存;搬运薄的或细丝状材料; |
| 申请人名称 | 天鼎丰非织造布有限公司 |
| 申请人地址 | 山东省德州市临邑县花园大街8号 |
专利法律状态
2019-07-23
授权
状态信息
授权
摘要
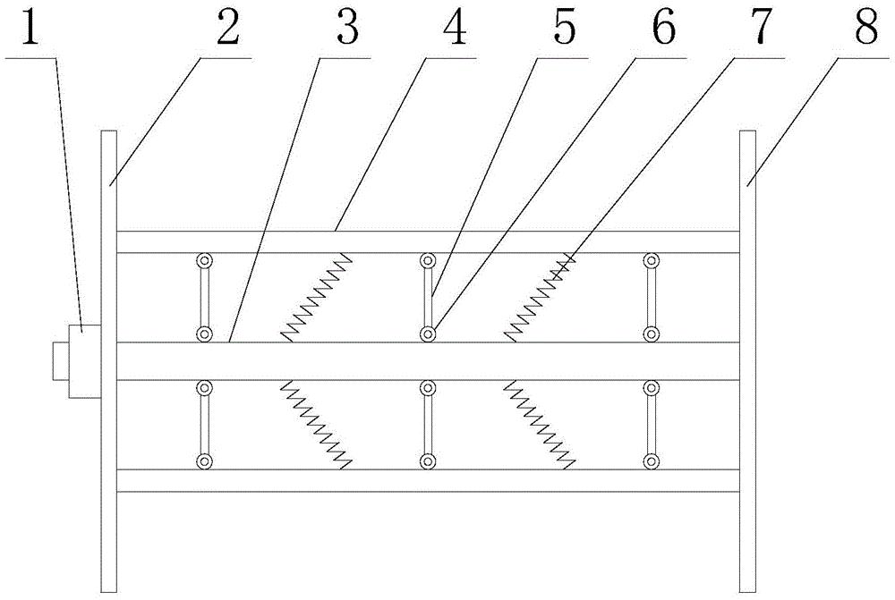
本实用新型涉及非织布生产装备领域,特别涉及一种收边机支撑机构。其包括主轴、支撑杆和圆盘;所述主轴的端部穿过所述圆盘,并且设有锁紧套,所述锁紧套用于连接所述圆盘和所述主轴;所述支撑杆设置在所述主轴外侧,且与所述主轴平行;所述支撑杆与所述主轴之间设有连杆和复位弹簧;所述连杆与所述主轴之间、所述连杆与所述支撑杆之间均为可转动连接;所述复位弹簧与所述主轴之间、所述复位弹簧与所述支撑杆之间均为固定连接。本实用新型的目的在于提供一种收边机支撑机构,以解决现有收边机支撑机构成本高、不便卸料的问题。


