授权公布号:CN106976148B
一种用于制作水泥试样的模具及水泥试样制作工艺
有效
申请
2017-04-07
申请公布
2017-07-25
授权
2019-05-17
预估到期
2037-04-07
| 申请号 | CN201710222699.X |
| 申请日 | 2017-04-07 |
| 申请公布号 | CN106976148A |
| 申请公布日 | 2017-07-25 |
| 授权公布号 | CN106976148B |
| 授权公告日 | 2019-05-17 |
| 分类号 | B28B7/00;B28B3/04;G01N1/28 |
| 分类 | 加工水泥、黏土或石料; |
| 申请人名称 | 中国葛洲坝集团水泥有限公司 |
| 申请人地址 | 湖北省荆门市东宝区泉口路21号 |
专利法律状态
2019-05-17
授权
状态信息
授权
2017-08-18
实质审查的生效
状态信息
实质审查的生效;IPC(主分类):B28B7/00;申请日:20170407
2017-07-25
公布
状态信息
公布
摘要
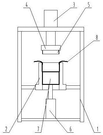
一种用于制作水泥试样的模具及水泥试样制作工艺,用于制作水泥试样的模具包括机架、试样制作筒、螺旋压盖装置和活塞式试样压制装置,所述试样制作筒设有中间压制通道,顶部设有内螺纹,制作筒固定在机架上,所述螺旋压盖装置包括伸缩气缸、电动转盘和压盖,所述伸缩气缸的缸体固定在机架的顶部,所述电动转盘安装在伸缩气缸的活塞杆上,所述压盖设有与顶部设有内螺纹,压盖安装在电动转盘的转盘上,所述活塞式试样压制装置包括顶升液压缸和活塞;本发明提供了一种用于制作水泥试样的模具,结构设计合理,水泥试样制作便捷,采用聚乙烯薄膜托底,有效防止荧光分析实验过程中试样掉渣情况,具有很好的实用价值。


