授权公布号:CN217699804U
一种沙发加工用环保型喷烤漆装置
有效
申请
2022-06-06
申请公布
1970-01-01
授权
2022-11-01
预估到期
2032-06-06
| 申请号 | CN202221380859.6 |
| 申请日 | 2022-06-06 |
| 授权公布号 | CN217699804U |
| 授权公告日 | 2022-11-01 |
| 分类号 | B05B16/00;B05B16/60;B01D46/10;B01D53/04 |
| 分类 | 一般喷射或雾化;对表面涂覆液体或其他流体的一般方法〔2〕; |
| 申请人名称 | 成都市润年家私有限责任公司 |
| 申请人地址 | 四川省成都市邛崃市羊安工业园区横四路七号 |
专利法律状态
2022-11-01
授权
状态信息
授权
摘要
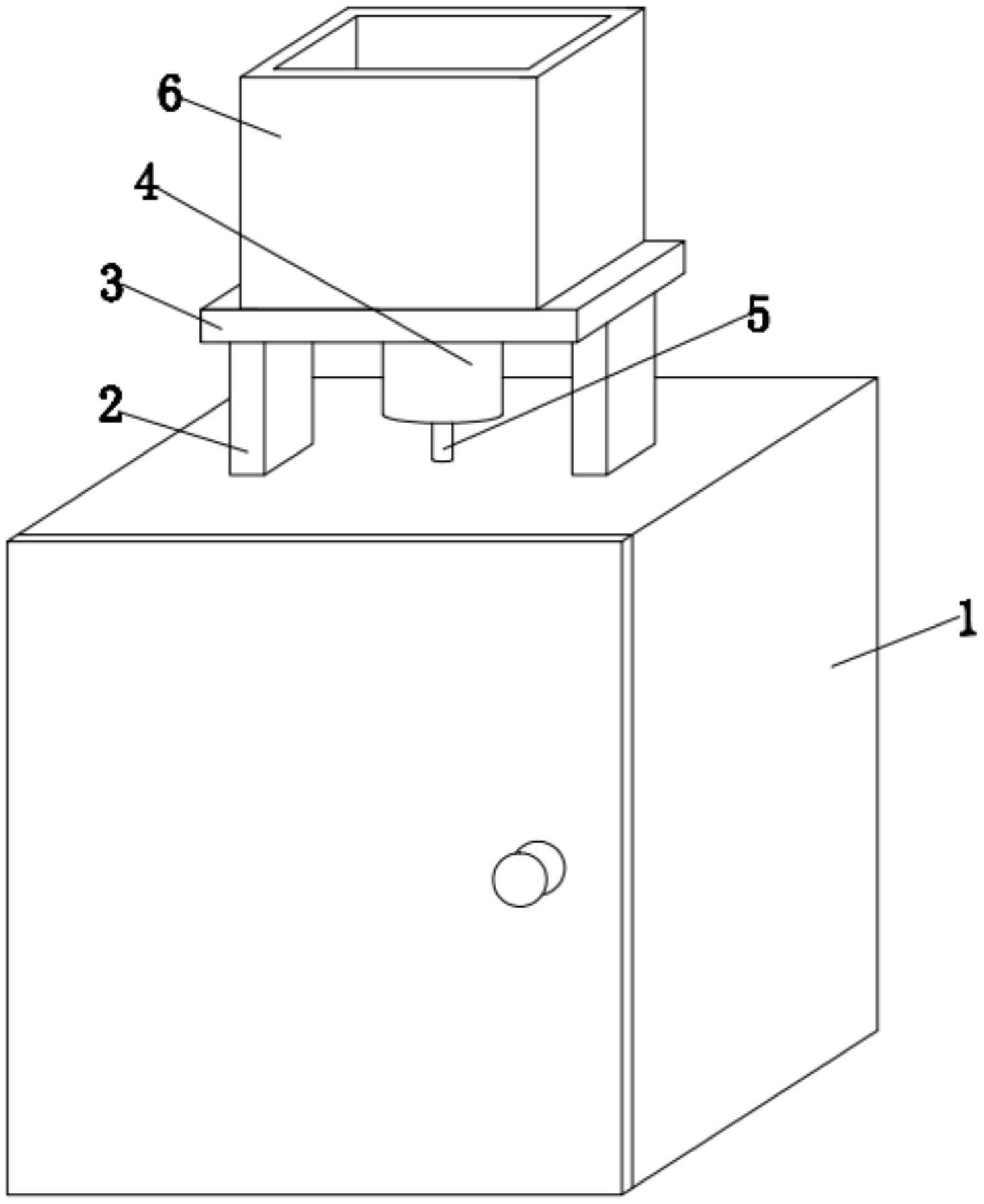
本实用新型涉及沙发加工领域,公开了一种沙发加工用环保型喷烤漆装置,包括喷漆柜体,所述喷漆柜体顶部固定设置有两个支撑腿,两个支撑腿顶部固定设置有一个支撑板,支撑板底部固定设置有抽气泵,支撑板顶部固定设置有顶盒,顶盒四周内壁上接触有一个框架,框架内固定设置有滤网,框架顶部固定设置有顶罩,顶罩顶部开设有两个卡槽,卡槽内卡装有卡板,两个卡板顶部固定设置有一个装配框,装配框内固定设置有活性炭滤层;框架两侧均开设有滑槽,顶盒两侧内壁上均开设有定位槽,滑槽内滑动接触有与定位槽相卡装的定位板。本实用新型具有以下优点和效果:能够方便对喷漆柜体内的异味空气进行处理。


