授权公布号:CN217331104U
一种乳胶床垫加工用测厚机
有效
申请
2022-05-30
申请公布
1970-01-01
授权
2022-08-30
预估到期
2032-05-30
| 申请号 | CN202221321121.2 |
| 申请日 | 2022-05-30 |
| 授权公布号 | CN217331104U |
| 授权公告日 | 2022-08-30 |
| 分类号 | G01B21/08 |
| 分类 | 测量;测试; |
| 申请人名称 | 成都市润年家私有限责任公司 |
| 申请人地址 | 四川省成都市邛崃市羊安工业园区横四路七号 |
专利法律状态
2022-08-30
授权
状态信息
授权
摘要
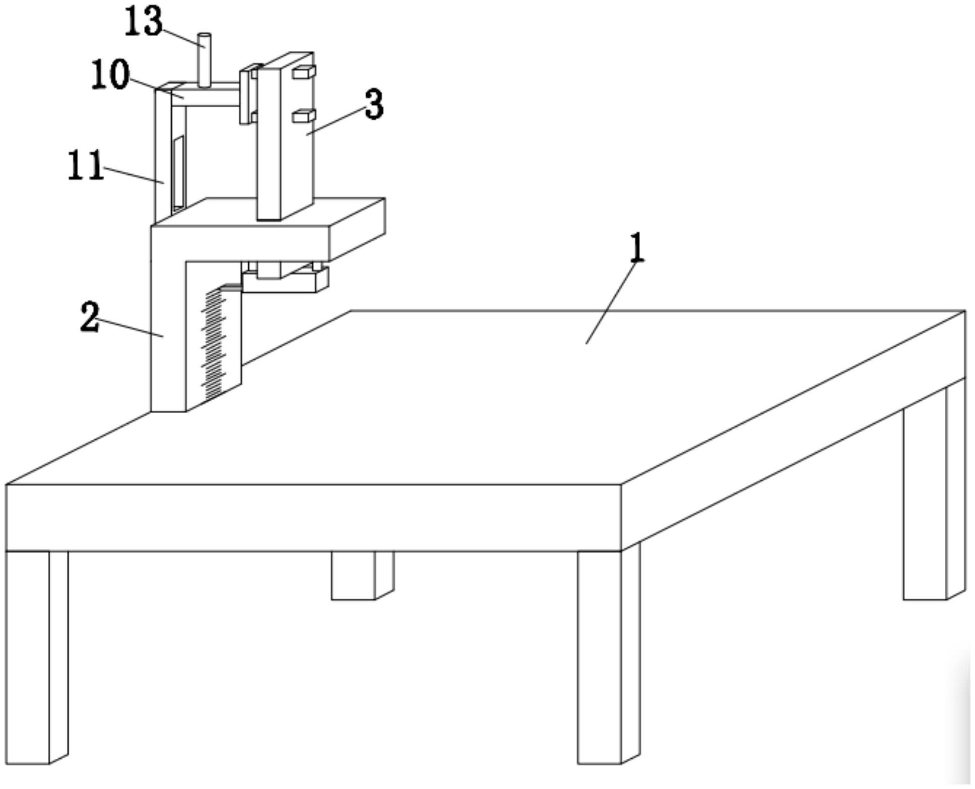
本实用新型涉及测厚机领域,公开了一种乳胶床垫加工用测厚机,包括台板,所述台板顶部固定设置有撑台,所述撑台顶部开设有方块孔,所述方块孔内滑动接触有方块板,所述方块板底部固定设置有压板,所述压板侧面固定设置有指示条;所述方块板侧面开设有两个水平孔,所述水平孔内滑动接触有水平板,两个水平板侧面固定设置有一个连接板,所述连接板与方块板之间焊接有弹簧,所述连接板侧面固定设置有横板,所述横板侧面固定设置有竖板,所述撑台侧面开设有契合块,所述竖板侧面开设有与契合块相卡装的契合槽,所述横板顶部固定设置有操作杆。本实用新型具有以下优点和效果:能够方便对压板进行限位处理,使用方便。


