授权公布号:CN212123592U
一种木材加工用钻孔装置
有效
申请
2020-04-16
申请公布
1970-01-01
授权
2020-12-11
预估到期
2030-04-16
| 申请号 | CN202020571052.5 |
| 申请日 | 2020-04-16 |
| 授权公布号 | CN212123592U |
| 授权公告日 | 2020-12-11 |
| 分类号 | B27C3/02;B27G3/00 |
| 分类 | 木材或类似材料的加工或保存;一般钉钉机或钉U形钉机; |
| 申请人名称 | 江苏格莱木业有限公司 |
| 申请人地址 | 江苏省南通市海安县海安镇联合村一组 |
专利法律状态
2020-12-11
授权
状态信息
授权
摘要
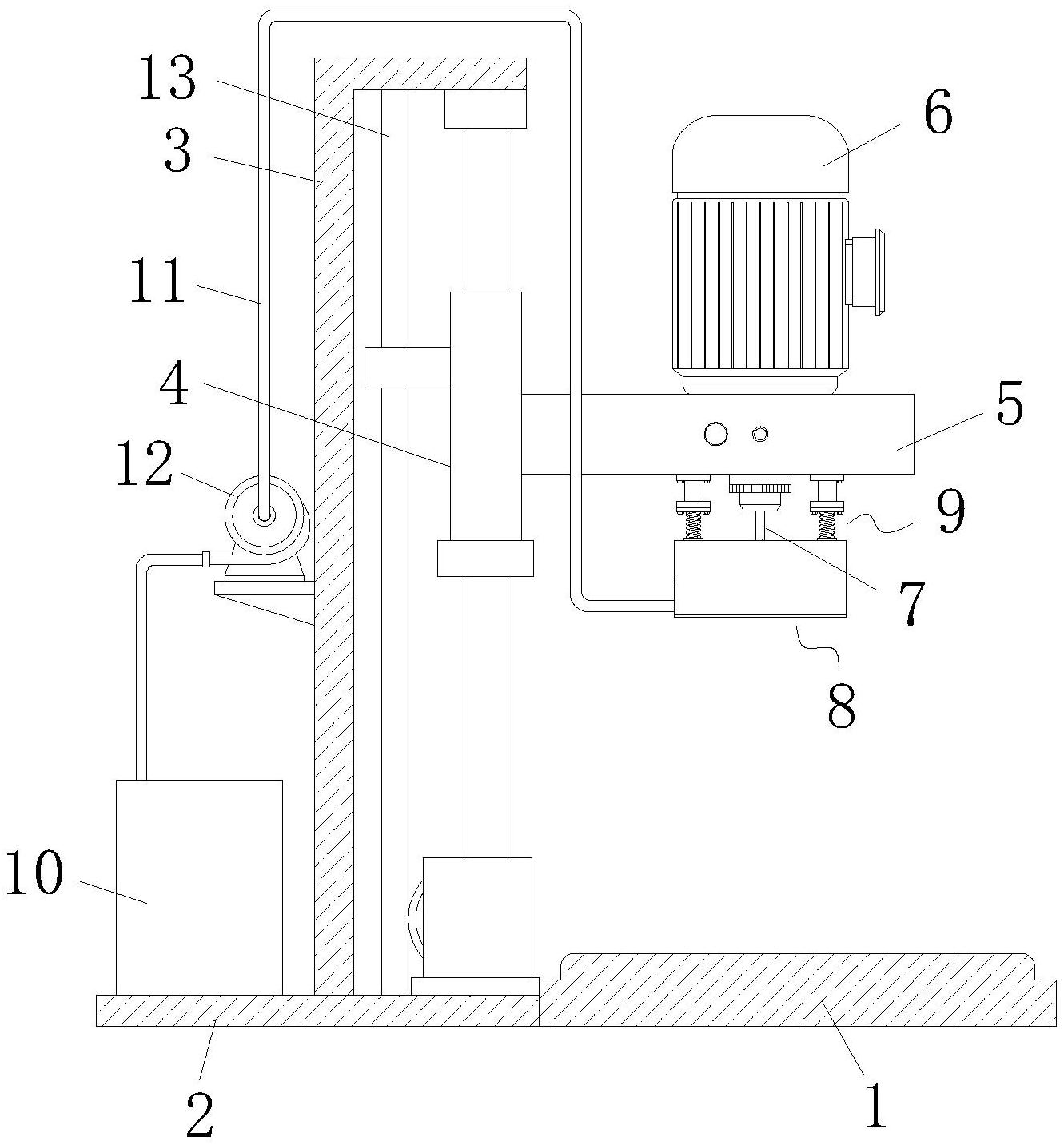
本实用新型属于木材加工设备技术领域,尤其为一种木材加工用钻孔装置,包括工作台、基座、支撑架、升降机构、升降板、驱动电机、钻头、碎屑收集构件和自适应调整装置,其中,所述基座连接于工作台的一侧,所述支撑架固定安装于基座的顶部。本实用新型能够对钻孔加工过程中产生的木碎屑进行集中收集,防止碎屑散落至工作台上,保证台面清洁,无需人工频繁清洁,同时利用碎屑收集构件笼罩钻头,有效避免由于钻头裸露导致在加工过程中发生工作人员误触钻头的事故,使用安全性较高,能够使碎屑收集构件始终处于钻孔工位外围,对溅射以及散落至木材孔位外围的碎屑进行集中收集,保证了装置的稳定性和可靠性,能够适应不同尺寸的木材钻孔加工需求。


