授权公布号:CN212117676U
一种不易吸油的幼儿桌面
有效
申请
2020-04-17
申请公布
1970-01-01
授权
2020-12-11
预估到期
2030-04-17
| 申请号 | CN202020583675.4 |
| 申请日 | 2020-04-17 |
| 授权公布号 | CN212117676U |
| 授权公告日 | 2020-12-11 |
| 分类号 | A47D3/00 |
| 分类 | 家具;家庭用的物品或设备;咖啡磨;香料磨;一般吸尘器; |
| 申请人名称 | 江苏格莱木业有限公司 |
| 申请人地址 | 江苏省南通市海安县海安镇联合村一组 |
专利法律状态
2020-12-11
授权
状态信息
授权
摘要
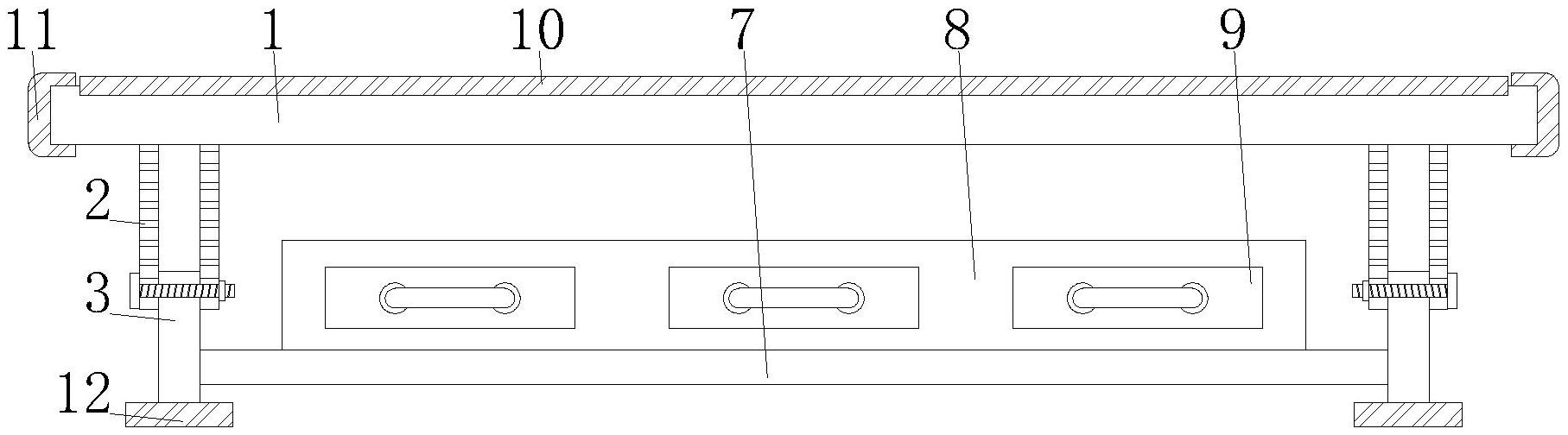
本实用新型属于木材家具技术领域,尤其为一种不易吸油的幼儿桌面,包括桌面主体,所述桌面主体的底部固定连接有固定板,所述固定板的侧边滑动连接有支撑腿,所述固定板的侧边贯穿开设有插孔,所述固定板的侧边设置有螺杆,所述固定板的另一侧固定连接有螺纹套,所述螺杆贯穿插孔与支撑腿与螺纹套的内壁螺纹连接,所述桌面主体包括底板,所述底板的表面固定连接有耐磨层。本实用新型通过设置的固定板和支撑腿之间的配合使得在对装置进行使用的时候,可以根据幼儿的自身情况调节其高度,从而使得在进行使用的时候更加轻松方便,避免了因身高与桌面不协调影响对装置的正常使用,造成不必要的麻烦。


