授权公布号:CN114190701B
餐桌
有效
申请
2021-12-13
申请公布
2022-03-18
授权
2023-04-07
预估到期
2041-12-13
| 申请号 | CN202111516950.6 |
| 申请日 | 2021-12-13 |
| 申请公布号 | CN114190701A |
| 申请公布日 | 2022-03-18 |
| 授权公布号 | CN114190701B |
| 授权公告日 | 2023-04-07 |
| 分类号 | A47B31/04;A47B13/00;A47B13/02;A47B13/08 |
| 分类 | 家具;家庭用的物品或设备;咖啡磨;香料磨;一般吸尘器; |
| 申请人名称 | 广东新红阳科技有限公司 |
| 申请人地址 | 广东省江门市鹤山市桃源镇富民工业区 |
专利法律状态
2023-08-11
专利权质押合同登记的生效、变更及注销
状态信息
专利权质押合同登记的生效;IPC(主分类):A47B31/04;登记号:Y2023980049727;登记生效日:20230725;出质人:广东新红阳科技有限公司;质权人:中国建设银行股份有限公司鹤山支行;发明名称:餐桌;申请日:20211213;授权公告日:20230407
2023-04-07
授权
状态信息
授权
2022-04-05
实质审查的生效
状态信息
实质审查的生效;IPC(主分类):A47B31/04;申请日:20211213
2022-03-18
公布
状态信息
公布
摘要
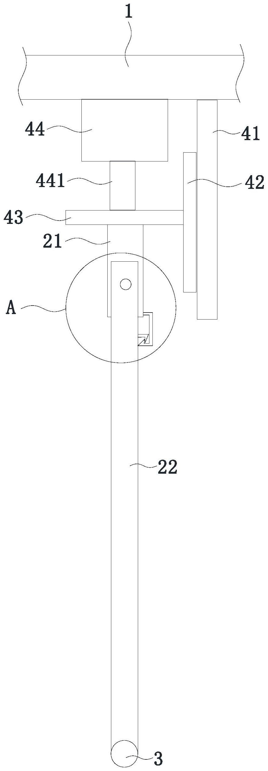
本发明涉及餐桌的技术领域,提供了一种餐桌,包括:桌面板和多个折叠式桌腿;各所述折叠式桌腿分别包括:连接在所述桌面板上的座体、通过枢轴转动设置在所述座体上的腿体、设置在所述座体上并位于所述腿体转动路径上的限位件、设置在所述腿体上的第一钩体,以及设置在所述限位件上并用于钩住所述第一钩体的第二钩体。当腿体在转动并向限位件靠近的过程中,腿体上的第一钩体可以钩住限位件上的第二钩体,从而固定腿体,避免腿体与限位件之间分离,保障了腿体在使用过程中的稳定性;当用户需要收纳腿体时,只需要将第一钩体和第二钩体之间脱钩,且转动腿体即可折叠腿体,收纳非常方便。


