授权公布号:CN211292730U
高性能微膨胀灌浆料含水量检测装置
有效
申请
2020-07-10
申请公布
1970-01-01
授权
2020-08-18
预估到期
2030-07-10
| 申请号 | CN202021343085.0 |
| 申请日 | 2020-07-10 |
| 授权公布号 | CN211292730U |
| 授权公告日 | 2020-08-18 |
| 分类号 | G01N29/036 |
| 分类 | 测量;测试; |
| 申请人名称 | 山东大元实业股份有限公司 |
| 申请人地址 | 山东省潍坊市潍城区宝通西街11667号 |
专利法律状态
2020-08-18
授权
状态信息
授权
摘要
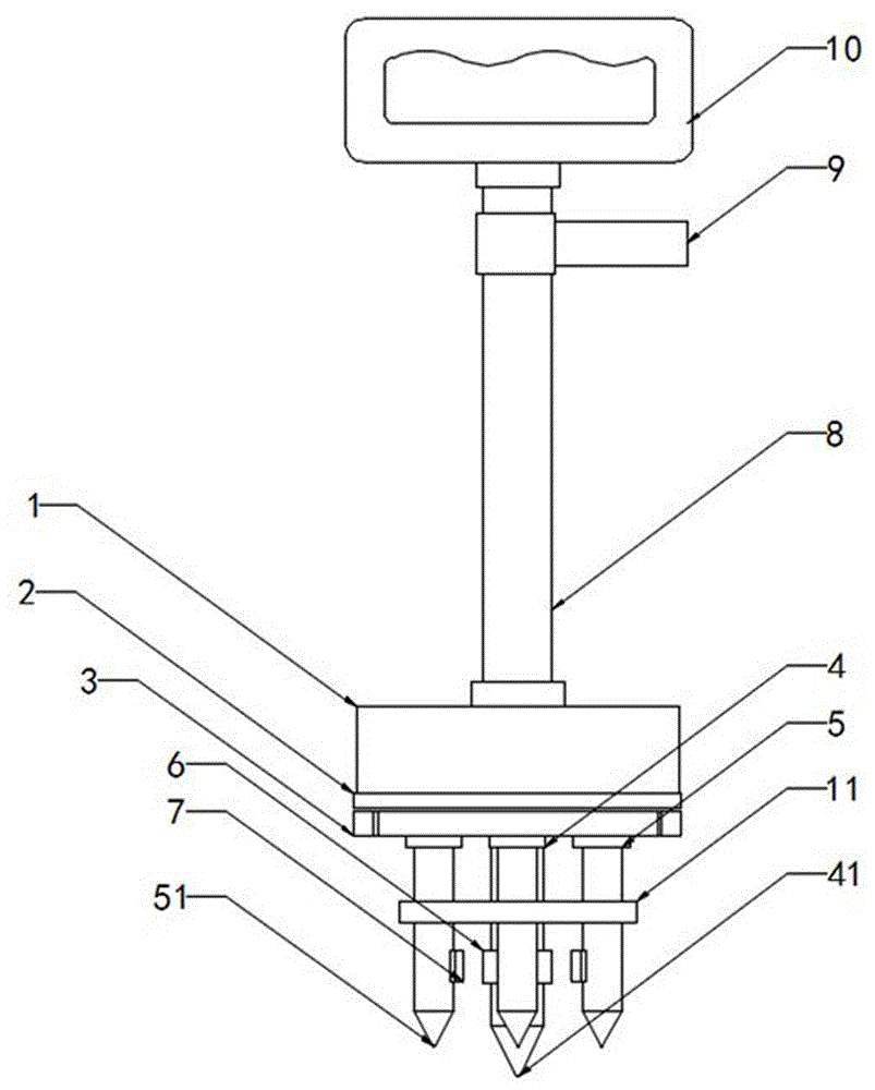
本实用新型公开了高性能微膨胀灌浆料含水量检测装置,包括圆柱形壳体,所述壳体的下端面具有橡胶垫,所述橡胶垫的下端面具有扇形板,每片所述扇形板的下端面上旋合连接有第二固定柱,所述壳体下方具有贯穿橡胶垫与壳体旋合连接的第一固定柱,所述第一固定柱的底端固定连接有声波发生器且声波发生器的下端面上固定连接有锥台形状的导流头。本实用新型中,扇形板与橡胶垫的设置,使得第一固定柱固定在外壳上不与扇形板接触,使得振动由第一固定柱传递带壳体后,受到橡胶垫的阻隔,吸收大部分振动,减少装置本身振动对第二固定柱上声波接收器的影响,该装置误差较小,准确度高。


