授权公布号:CN213429214U
一种可调节坐姿角度的家具结构
有效
申请
2020-10-22
申请公布
1970-01-01
授权
2021-06-15
预估到期
2030-10-22
| 申请号 | CN202022363861.X |
| 申请日 | 2020-10-22 |
| 授权公布号 | CN213429214U |
| 授权公告日 | 2021-06-15 |
| 分类号 | A47C3/20;A47C7/00;A47C7/02;A47C7/40 |
| 分类 | 家具;家庭用的物品或设备;咖啡磨;香料磨;一般吸尘器; |
| 申请人名称 | 深圳市美廷理创家居有限公司 |
| 申请人地址 | 广东省深圳市坪山新区坑梓街道家具产业基地2号厂房一、二楼 |
专利法律状态
2021-06-15
授权
状态信息
授权
摘要
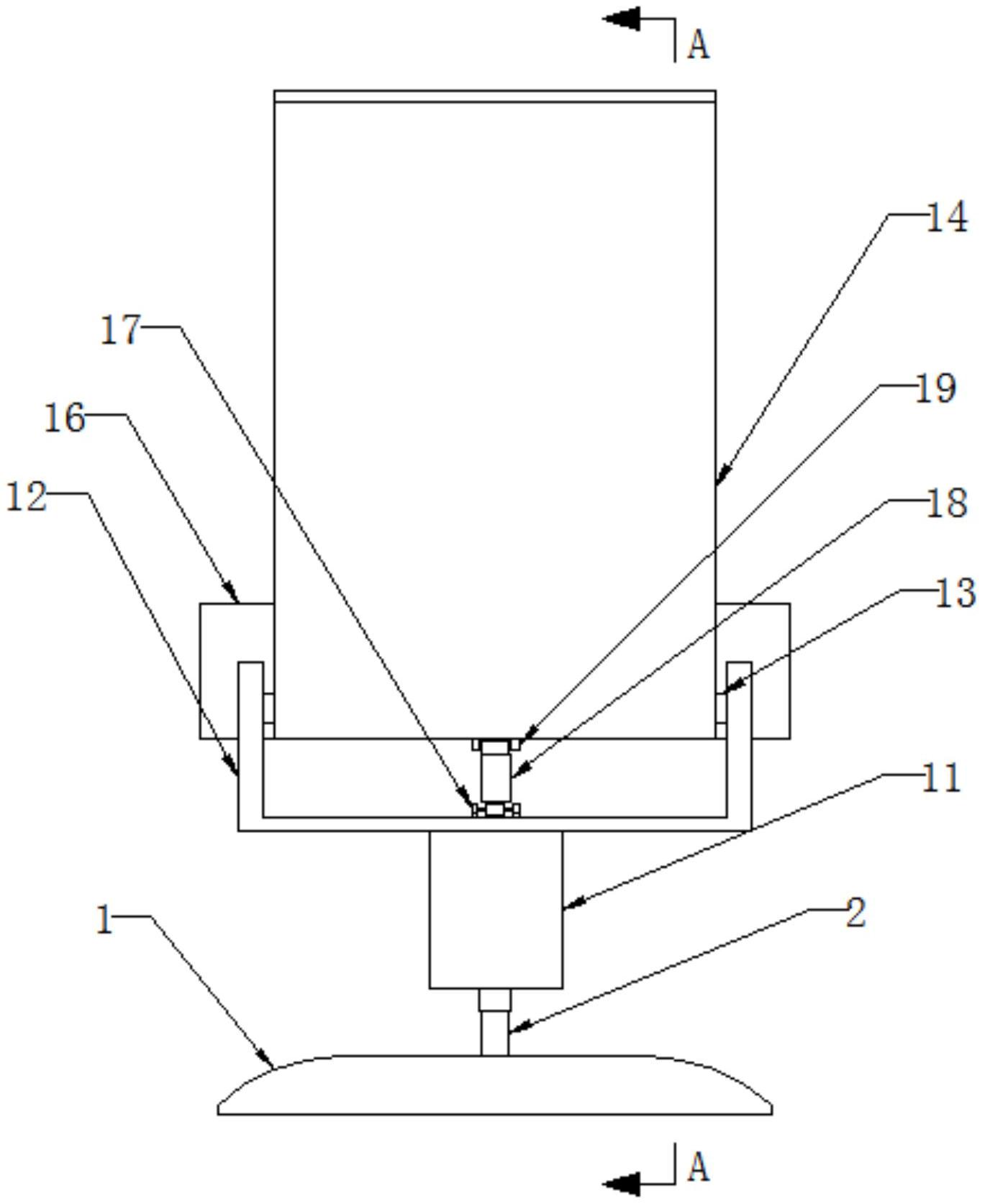
本实用新型涉及家具技术领域,且公开了一种可调节坐姿角度的家具结构,包括底座,所述底座的顶部固定连接有伸缩杆,所述伸缩杆的侧表面固定连接有螺纹套,所述螺纹套的数量为两个,两个所述螺纹套的侧内壁均螺纹连接有丝杆。该可调节坐姿角度的家具结构,通过设置底座、伸缩杆、螺纹套、丝杆、轴承、第一齿轮、第二齿轮和电机,使电机旋转带动第二齿轮旋转,使第二齿轮带动第一齿轮转动,使第一齿轮带动丝杆转动,使螺纹套带动伸缩杆向下运动,使座椅调整至合适的高度,解决了无法针对不同高度的桌子进行无级调节,更无法根据不同的身高自由地调节座椅高度的问题。


