授权公布号:CN113878474B
一种用于家具加工的表面抛光装置
有效
申请
2021-10-28
申请公布
2022-01-04
授权
2023-12-22
预估到期
2041-10-28
| 申请号 | CN202111262530.X |
| 申请日 | 2021-10-28 |
| 申请公布号 | CN113878474A |
| 申请公布日 | 2022-01-04 |
| 授权公布号 | CN113878474B |
| 授权公告日 | 2023-12-22 |
| 分类号 | B24B29/00;B24B47/22;B24B47/04;B24B41/06;B24B41/00;B24B41/04 |
| 分类 | 磨削;抛光; |
| 申请人名称 | 深圳市美廷理创家居有限公司 |
| 申请人地址 | 广东省深圳市坪山新区坑梓街道家具产业基地2号厂房一、二楼 |
专利法律状态
2023-12-22
授权
状态信息
授权
2022-01-04
公布
状态信息
公布
摘要
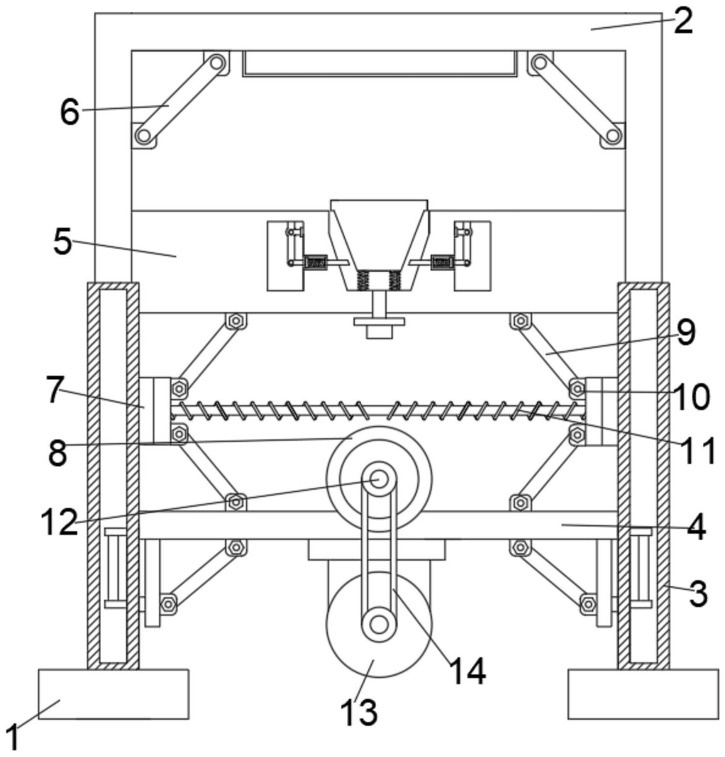
本发明涉及家具技术领域,且公开了一种用于家具加工的表面抛光装置,包括底座、支撑架和支架外壳,所述底座上方固定连接有支撑架,支撑架表面固定连接有支架外壳,支撑架内部下端固定连接有平台,平台下方左右两端均固定连接有长杆,且长杆与平台以及支架外壳通过第二销轴固定连接,支架外壳内部固定连接有滑块,滑块与支撑架固定连接,支撑架与支架外壳之间固定连接有固定杆,固定杆表面固定连接有固定轴,平台上方左右两端均固定连接有长杆。通过家具板材放在水平工作台上,并通过支撑架左右两端的滑动限将其固定,然后固定杆表面之间固定轴,将抛光装置调整至合适的高度,接着启动电机,抛光装置能够对家具板材进行抛光。


