授权公布号:CN213429212U
一种带智能360度旋转和可折叠靠背功能的家具结构
有效
申请
2020-10-22
申请公布
1970-01-01
授权
2021-06-15
预估到期
2030-10-22
| 申请号 | CN202022361648.5 |
| 申请日 | 2020-10-22 |
| 授权公布号 | CN213429212U |
| 授权公告日 | 2021-06-15 |
| 分类号 | A47C3/18;A47C7/40;A47C4/04 |
| 分类 | 家具;家庭用的物品或设备;咖啡磨;香料磨;一般吸尘器; |
| 申请人名称 | 深圳市美廷理创家居有限公司 |
| 申请人地址 | 广东省深圳市坪山新区坑梓街道家具产业基地2号厂房一、二楼 |
专利法律状态
2021-06-15
授权
状态信息
授权
摘要
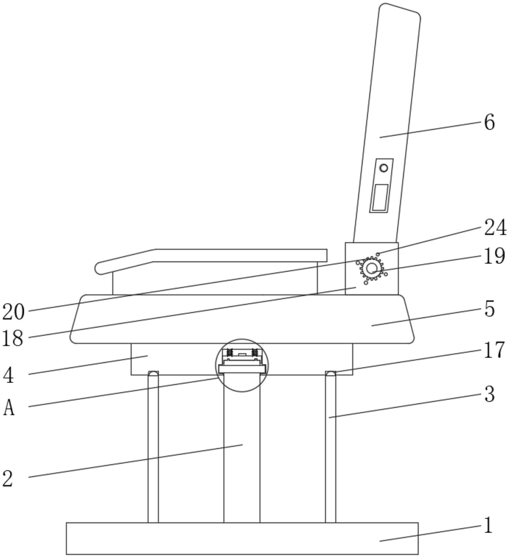
本实用新型涉及家具技术领域,且公开了一种带智能360度旋转和可折叠靠背功能的家具结构,包括底座,所述底座的顶部固定连接有固定柱,所述底座的顶部固定连接有支撑杆,所述固定柱的顶部设置有活动盘,所述活动盘的顶部固定连接有坐垫,所述坐垫的顶部设置有按摩靠背,所述活动盘的底部开设有凹槽。该带智能360度旋转和可折叠靠背功能的家具结构,通过活动槽、限位杆、活动套、限位孔、连接杆、槽口和压缩弹簧之间的相互配合,将连接杆向上移动,使得连接杆在槽口的内部向上移动,并带动活动套向上移动,使得压缩弹簧收缩,从而使得限位槽与限位杆的表面分离,并使得活动盘与固定柱发生转动,进而可以对坐垫进行转动。


