授权公布号:CN210474734U
一种家私加工废渣回收机构
有效
申请
2019-08-17
申请公布
1970-01-01
授权
2020-05-08
预估到期
2029-08-17
| 申请号 | CN201921335837.6 |
| 申请日 | 2019-08-17 |
| 授权公布号 | CN210474734U |
| 授权公告日 | 2020-05-08 |
| 分类号 | B08B1/00;B08B13/00 |
| 分类 | 清洁; |
| 申请人名称 | 深圳市美廷理创家居有限公司 |
| 申请人地址 | 广东省深圳市坪山新区坑梓街道家具产业基地2号厂房一、二楼 |
专利法律状态
2020-05-08
授权
状态信息
授权
摘要
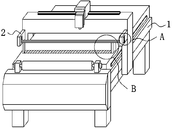
本实用新型公开了一种家私加工废渣回收机构,包括加工装置本体,加工装置本体前侧的两侧均固定连接有固定壳,两个固定壳相对的一侧之间贯穿活动连接有活动杆,活动杆的底部固定连接有固定板,固定板的底部固定连接有毛刷,固定壳的内壁固定连接有滑杆,滑杆的表面与活动杆的内腔活动连接。本实用新型通过设置加工装置本体、固定壳、活动杆、固定板、毛刷、滑杆、外壳、通槽、复位机构和限位机构的配合使用,解决了现有的家私在加工过程中产生的木屑不便于进行收集回收,需要人工进行清理,增加了使用者的劳动强度,不便于使用者使用的问题,家私加工废渣回收机构,具备便于集中木屑进行回收的优点。


