授权公布号:CN216347241U
一种恒温控制智能酒柜
有效
申请
2021-10-26
申请公布
1970-01-01
授权
2022-04-19
预估到期
2031-10-26
| 申请号 | CN202122575053.4 |
| 申请日 | 2021-10-26 |
| 授权公布号 | CN216347241U |
| 授权公告日 | 2022-04-19 |
| 分类号 | F25D11/00;F25D23/02;F25D29/00;A47B69/00;A47B73/00 |
| 分类 | 制冷或冷却;加热和制冷的联合系统;热泵系统;冰的制造或储存;气体的液化或固化; |
| 申请人名称 | 深圳市美廷理创家居有限公司 |
| 申请人地址 | 广东省深圳市坪山新区坑梓街道家具产业基地2号厂房一、二楼 |
专利法律状态
2022-04-19
授权
状态信息
授权
摘要
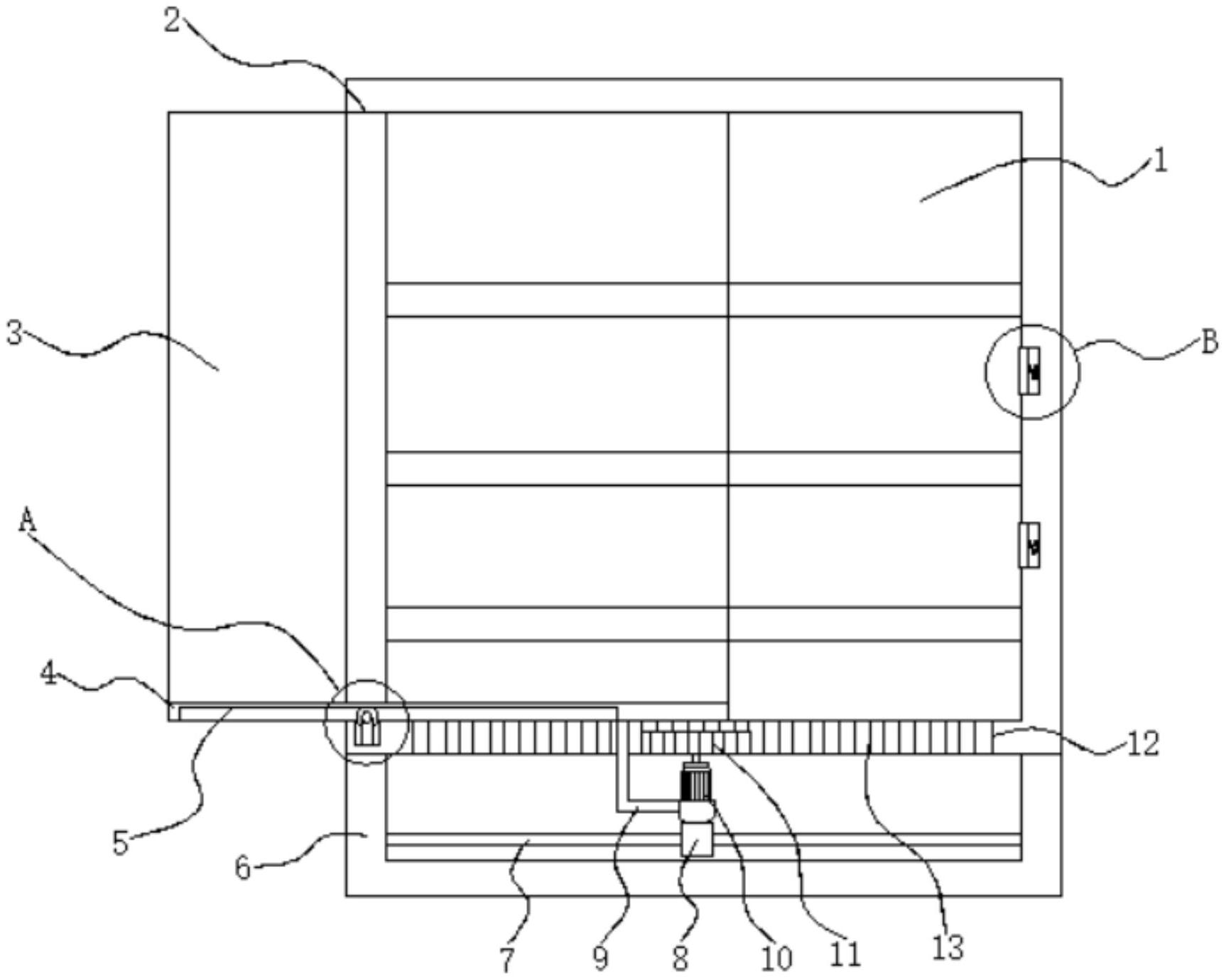
本实用新型提供一种恒温控制智能酒柜,涉及酒柜领域。该恒温控制智能酒柜,包括柜体,所述柜体的左侧开设有与柜体内部相连通的滑动孔,所述滑动孔的内部滑动连接有玻璃门,所述玻璃门的底部固定连接有移动条,所述移动条的下表面与滑动孔的内底壁搭接,柜体的底部固定连接有驱动箱,驱动箱的左右两侧内壁之间固定连接有横梁。该恒温控制智能酒柜,通过,横梁、移动环、连接杆、电机、齿轮、齿槽和控制孔之间的相互配合,达到可以借助电机工作,从而完成玻璃门的开闭工作,十分便捷,同时关闭后十分紧密,解决了目前恒温控制智能酒柜多采用常规手动开闭柜门,此方式不够方便,同时还存在关闭不够紧密造成酒柜温度与室温同步而影响酒品质的问题。


