授权公布号:CN217117761U
一种可自由升降的书桌台
有效
申请
2022-04-13
申请公布
1970-01-01
授权
2022-08-05
预估到期
2032-04-13
| 申请号 | CN202220841215.6 |
| 申请日 | 2022-04-13 |
| 授权公布号 | CN217117761U |
| 授权公告日 | 2022-08-05 |
| 分类号 | A47B9/00;A47B13/00;A47B13/02 |
| 分类 | 家具;家庭用的物品或设备;咖啡磨;香料磨;一般吸尘器; |
| 申请人名称 | 深圳市美廷理创家居有限公司 |
| 申请人地址 | 广东省深圳市坪山新区坑梓街道家具产业基地2号厂房一、二楼 |
专利法律状态
2022-08-05
授权
状态信息
授权
摘要
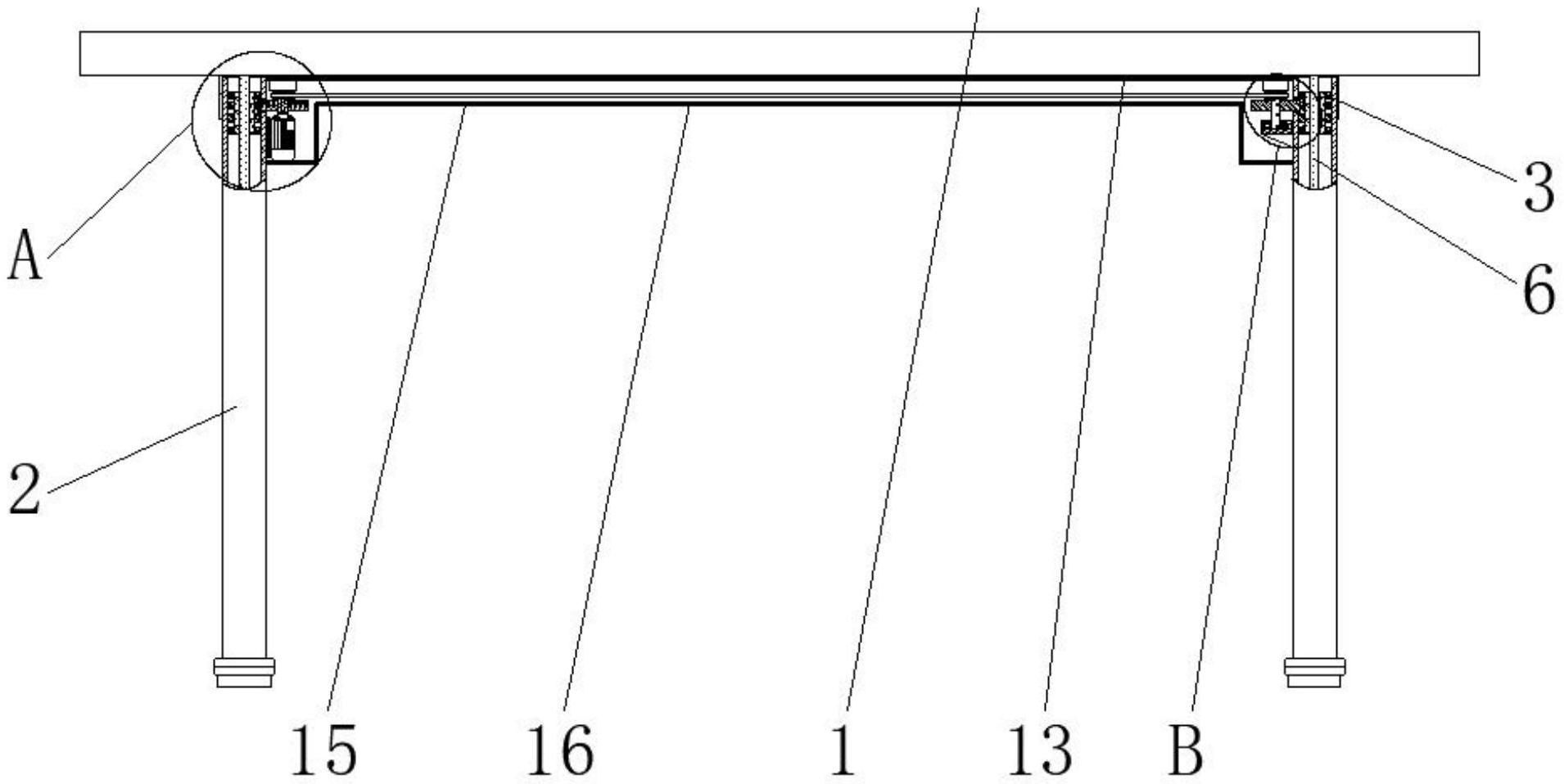
本实用新型公开了一种可自由升降的书桌台,包括书桌台面本体,所述书桌台面本体底部的两侧均设置有支腿,所述支腿的内部通过轴承活动连接有转动套,所述转动套的表面固定连接有小齿轮,所述支腿的内侧开设有活动口,所述转动套的内部螺纹连接有螺杆,所述螺杆的顶端与书桌台面本体的底部固定连接,所述书桌台面本体底部的左侧设置有与支腿固定安装的电机。本实用新型通过设置书桌台面本体、支腿、转动套、小齿轮、活动口、螺杆、电机、传动杆、主大齿轮、支撑块、支杆和从大齿轮的配合使用,解决了现有书桌台台面高度一般是固定的,不能根据使用者的需要进行自由升降,降低了使用者对书桌台使用时便利性的问题。


