授权公布号:CN215318020U
一种夹胶玻璃侧边修磨用固定装置
有效
申请
2021-06-21
申请公布
1970-01-01
授权
2021-12-28
预估到期
2031-06-21
| 申请号 | CN202121369382.7 |
| 申请日 | 2021-06-21 |
| 授权公布号 | CN215318020U |
| 授权公告日 | 2021-12-28 |
| 分类号 | B24B41/06;B24B9/10;F21V33/00 |
| 分类 | 磨削;抛光; |
| 申请人名称 | 河南鹏熙玻璃有限公司 |
| 申请人地址 | 河南省洛阳市老城区邙山镇王城大道北段水口工业园1号 |
专利法律状态
2021-12-28
授权
状态信息
授权
摘要
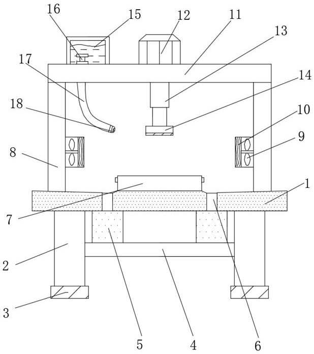
本实用新型公开了一种夹胶玻璃侧边修磨用固定装置,包括底板,所述底板的底部固定连接有支撑腿,所述支撑腿的底部套设有支撑垫,且所述支撑腿之间设置有连接板,所述连接板的两端与支撑腿固定连接,所述底板的上方两侧连接有支撑杆,所述支撑杆的顶部固定连接有顶板,所述顶板的顶部中心处安装有电机,所述转轴延伸至顶板的下方固定连接有修磨板。该夹胶玻璃侧边修磨用固定装置,加工台内设置有夹板,通过夹板可以将玻璃竖直着夹持固定,防止玻璃在修磨的过程中错位移动,而影响加工的精度,加工台内部安装有补光灯,补光灯能够起到良好的照明效果,从而在修磨的过程中起到补光的作用,方便观察玻璃侧边的毛边等现象,有利用提高玻璃修磨的效率。


