授权公布号:CN213559015U
玻璃清洗机用一体式清洗辊刷
有效
申请
2020-10-21
申请公布
1970-01-01
授权
2021-06-29
预估到期
2030-10-21
| 申请号 | CN202022349472.1 |
| 申请日 | 2020-10-21 |
| 授权公布号 | CN213559015U |
| 授权公告日 | 2021-06-29 |
| 分类号 | B08B11/04;B08B1/02;B08B3/02;B08B3/14;B01D29/96 |
| 分类 | 清洁; |
| 申请人名称 | 洛阳威轩玻璃有限公司 |
| 申请人地址 | 河南省洛阳市孟津县洛阳空港产业集聚区政通路146号(孟津县麻屯镇麻屯村) |
专利法律状态
2021-06-29
授权
状态信息
授权
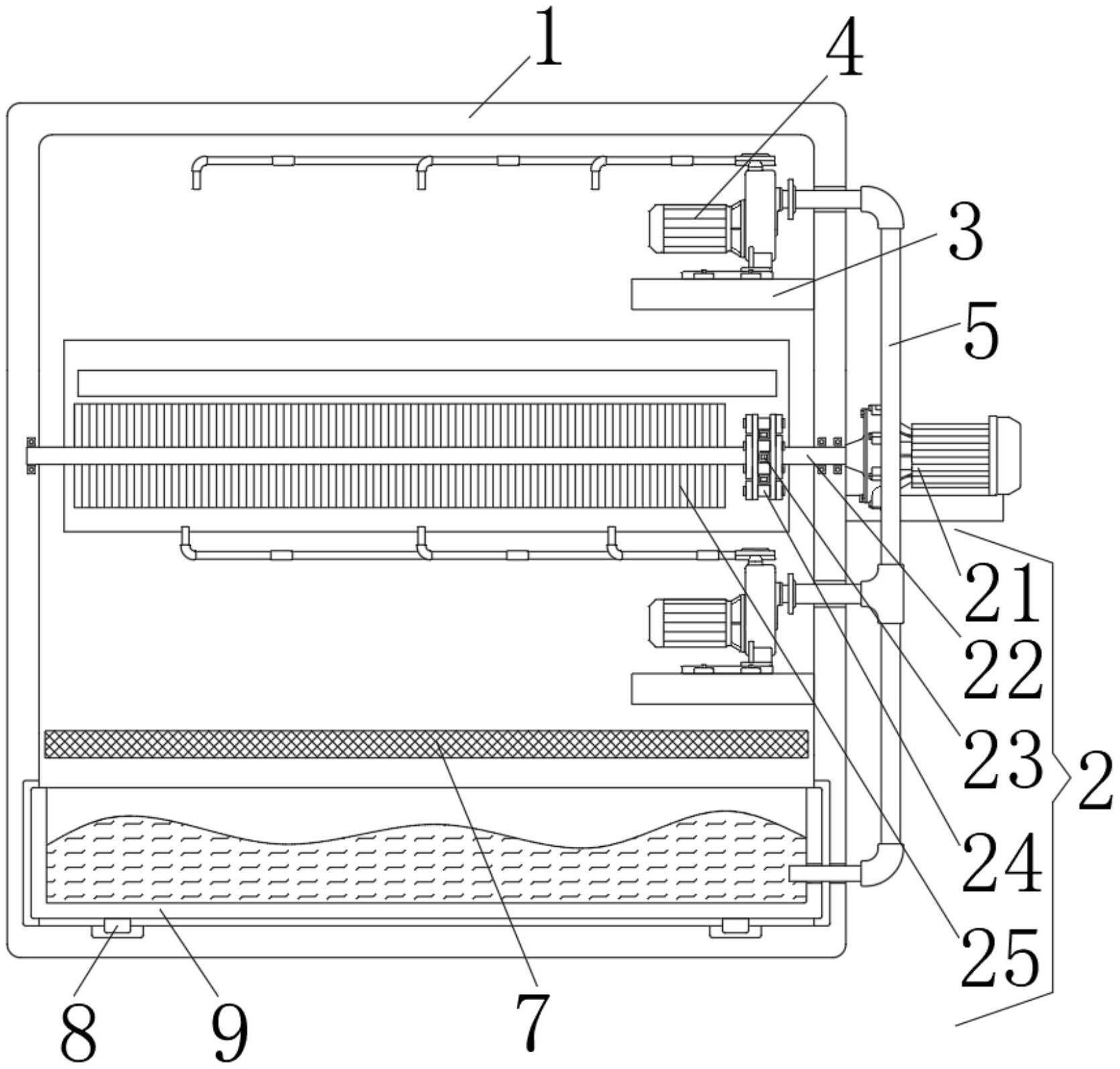
摘要
本实用新型涉及玻璃清洗机技术领域,具体涉及玻璃清洗机用一体式清洗辊刷,包括装置主体,所述装置主体的一侧表面安装有传动机构,所述传动机构包括电机,所述装置主体的一侧表面安装有电机,且电机的输出端固定连接有转动杆。该装置设置有传动机构和卡合机构,电机启动带动转动杆转动,转动轮带动转动轮转动,转动轮通过表面齿牙与链条相啮合带动链条转动,链条的内部等距啮合有七组转动轮,转动轮带动链条转动,链条带动另外六组转动轮转动,转动杆的表面设置有毛刷,毛刷对玻璃进行输送的同时对玻璃进行一些刷动。


