授权公布号:CN218134593U
一种螺旋叶片压铸成型工装
有效
申请
2022-07-25
申请公布
1970-01-01
授权
2022-12-27
预估到期
2032-07-25
| 申请号 | CN202221933461.0 |
| 申请日 | 2022-07-25 |
| 授权公布号 | CN218134593U |
| 授权公告日 | 2022-12-27 |
| 分类号 | B21D53/78;B21D22/02;B21D37/10 |
| 分类 | 基本上无切削的金属机械加工;金属冲压; |
| 申请人名称 | 四川多联实业有限公司 |
| 申请人地址 | 四川省成都市双流区西南航空港经济开发区工业集中区内 |
专利法律状态
2022-12-27
授权
状态信息
授权
摘要
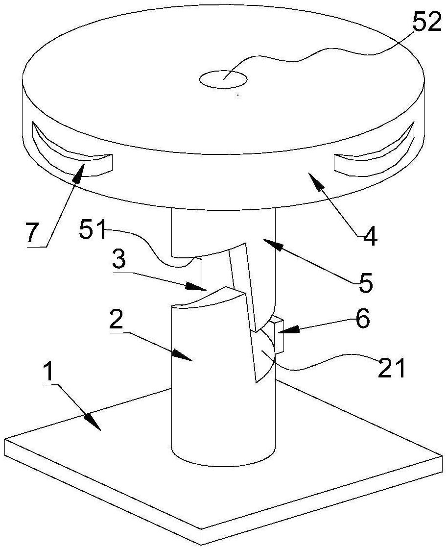
本实用新型涉及一种螺旋叶片压铸成型工装,属于机加工技术领域。该螺旋叶片压铸成型工装包括底座;凸柱,固设于底座的顶面上,凸柱的顶面为第一螺旋面,并且凸柱的顶面中心位置固设有与凸柱同轴的定位柱;压块;压柱,固设于压块的底面上,压柱的底面为与第一螺旋面匹配的第二螺旋面,并且压柱的底面中心位置开设有与定位柱适配的定位孔,定位孔与压柱同轴。通过上述结构,该螺旋叶片压铸成型工装能够轻易且快速地将金属片压铸形成螺旋叶片,操作简单方便,效率高,而且每次成型获得螺旋叶片形状以及精度可控,每次成型获得螺旋叶片相同度也更高。


