授权公布号:CN213409352U
一种能够自动进料的振动筛粉机
有效
申请
2020-09-23
申请公布
1970-01-01
授权
2021-06-11
预估到期
2030-09-23
| 申请号 | CN202022098070.9 |
| 申请日 | 2020-09-23 |
| 授权公布号 | CN213409352U |
| 授权公告日 | 2021-06-11 |
| 分类号 | B07B1/28;B07B1/46;B07B1/52 |
| 分类 | 将固体从固体中分离;分选; |
| 申请人名称 | 辽宁千里明药业(集团)有限公司 |
| 申请人地址 | 辽宁省营口市西市区金牛山大街风光里3号 |
专利法律状态
2021-06-11
授权
状态信息
授权
摘要
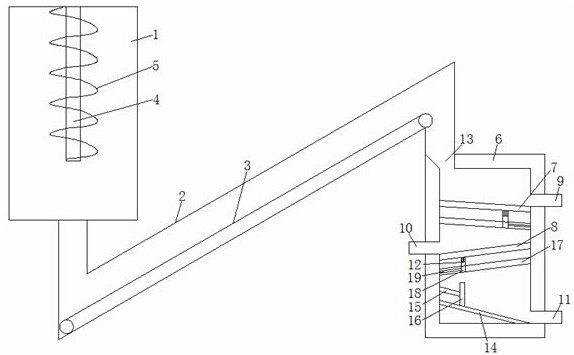
本实用新型提供了一种能够自动进料的振动筛粉机,该能够自动进料的振动筛粉机包括:进料装置、筛选装置、以及清理装置;所述进料装置包括储料箱、与所述储料箱固定连接的管道、以及与所述管道转动连接的输送带;所述筛选装置包括与所述管道固定连接的壳体、与所述壳体固定连接的第一振动筛、第二振动筛、以及推料装置;所述清理装置包括与所述壳体的内壁滑动连接的两个毛刷。本实用新型的有益效果是:通过设置的进料装置,可以达到自动进料的目的;通过设置的筛选装置,可以达到分层筛选的目的;通过设置的清理装置,可以对筛选装置内的筛网进行清理,防止其堵塞。


