授权公布号:CN216539914U
一种有色玻璃生产用水洗碎玻璃设备
有效
申请
2021-12-06
申请公布
1970-01-01
授权
2022-05-17
预估到期
2031-12-06
| 申请号 | CN202123036209.8 |
| 申请日 | 2021-12-06 |
| 授权公布号 | CN216539914U |
| 授权公告日 | 2022-05-17 |
| 分类号 | B08B3/12;B08B13/00;F26B21/00;C03C1/02 |
| 分类 | 清洁; |
| 申请人名称 | 唐山市蓝欣玻璃有限公司 |
| 申请人地址 | 河北省唐山市汉沽管理区果园一队 |
专利法律状态
2022-05-17
授权
状态信息
授权
摘要
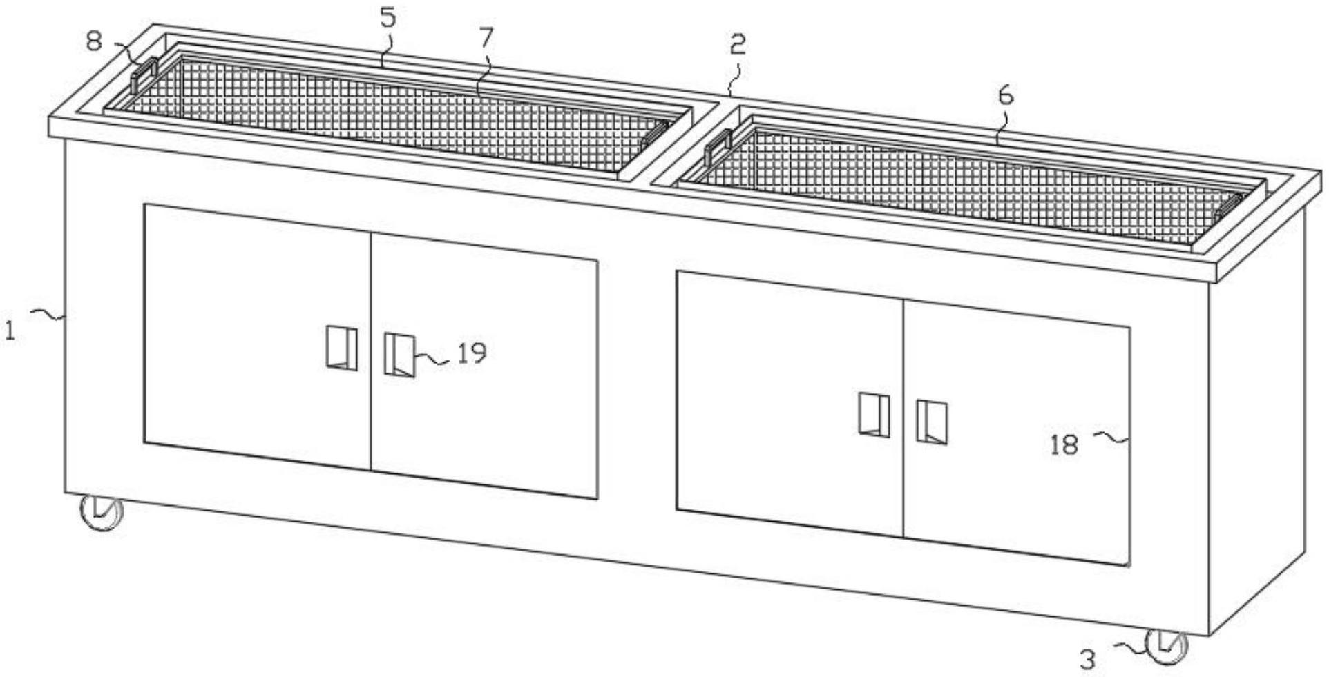
本实用新型公开了一种有色玻璃生产用水洗碎玻璃设备,包括壳体,所述壳体内中部设有隔板,所述壳体与隔板上端设有支撑板,所述壳体一侧隔板中部设有清洗槽,远离所述清洗槽一侧的隔板中部设有烘干槽,所述清洗槽与烘干槽内均设有网框,所述清洗槽下方设有超声波振子,所述超声波振子下方设有超声波发生器,所述烘干槽下方设有挡板,所述挡板下方设有风机,所述风机输出端通过风管分别与挡板两端相连通,所述烘干槽两侧侧壁开设有多个矩阵排布的出风口。该种水洗碎玻璃设备结构简单,操作方便,清洗效果好,速度快,清洗槽与烘干槽可以同时进行,保证了碎玻璃的回收质量。


