授权公布号:CN216128902U
一种低速监测装置及设有其的皮带输送机
有效
申请
2021-11-11
申请公布
1970-01-01
授权
2022-03-25
预估到期
2031-11-11
| 申请号 | CN202122749462.1 |
| 申请日 | 2021-11-11 |
| 授权公布号 | CN216128902U |
| 授权公告日 | 2022-03-25 |
| 分类号 | B65G43/02;B65G15/32 |
| 分类 | 输送;包装;贮存;搬运薄的或细丝状材料; |
| 申请人名称 | 安徽皖维高新材料股份有限公司 |
| 申请人地址 | 安徽省合肥市巢湖市巢维路56号 |
专利法律状态
2022-03-25
授权
状态信息
授权
摘要
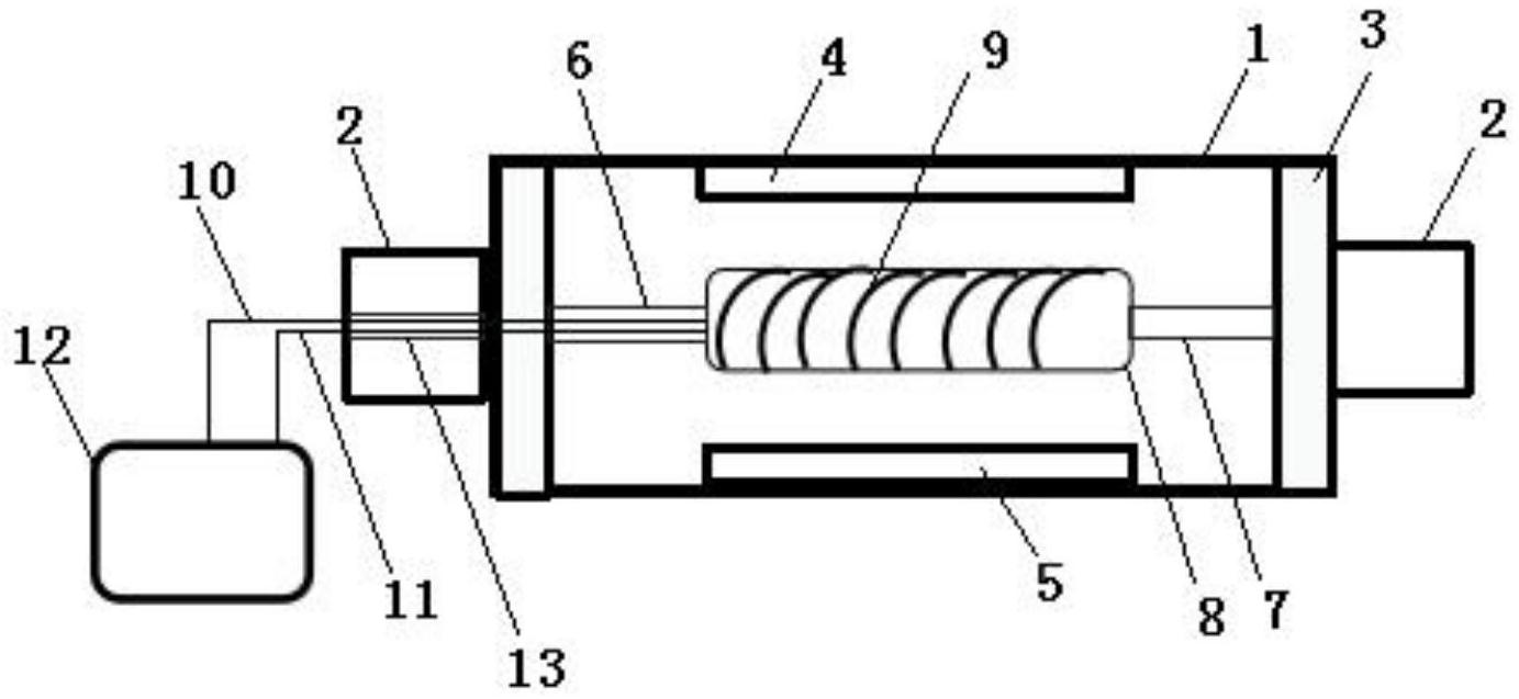
本实用新型提供了一种低速监测装置及设有其的皮带输送机,安装在皮带输送机的托辊上,结构是:定子上缠绕有电磁线圈,两端通过与托辊同轴布置的第一支撑连接杆和第二支撑连接杆固连于辊体两侧的辊轴之间,第一永磁铁与第二永磁铁呈对称分设于定子的两侧,相对的磁极为异极,分别粘附在辊体内壁面上,第一支撑连接杆与所在侧的辊轴中部沿轴向形成贯通至外部的中空通道,电磁线圈一端连接线圈负极接出线,另一端连接线圈正极接出线,线圈负极接出线、线圈正极接出线穿过中空通道与外置于皮带输送机外的直流毫安表电性相连。本实用新型用于对皮带输送机是否运行进行监测,监测结果更加准确。


