授权公布号:CN220641833U
一种服装生产加工传输设备
有效
申请
2023-08-02
申请公布
1970-01-01
授权
2024-03-22
预估到期
2033-08-02
| 申请号 | CN202322060396.6 |
| 申请日 | 2023-08-02 |
| 授权公布号 | CN220641833U |
| 授权公告日 | 2024-03-22 |
| 分类号 | B65H16/06;B65H23/032;B65H20/02;B65H18/10 |
| 分类 | 输送;包装;贮存;搬运薄的或细丝状材料; |
| 申请人名称 | 江苏卡思迪莱服饰有限公司 |
| 申请人地址 | 江苏省南京市经济技术开发区恒达路11号 |
专利法律状态
2024-03-22
授权
状态信息
授权
摘要
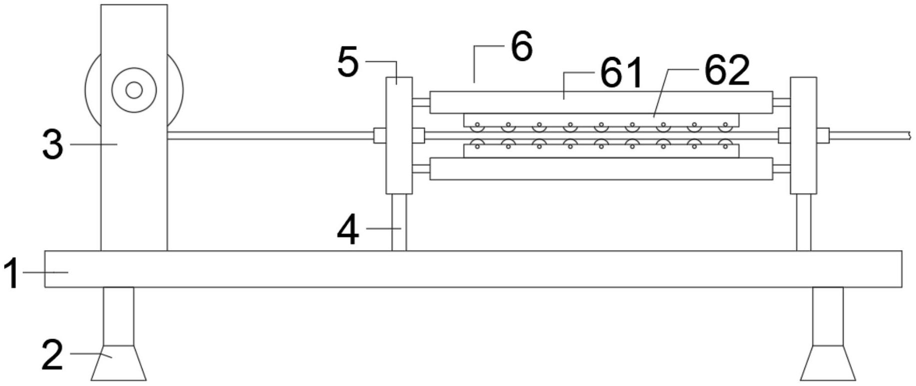
本实用新型涉及服装生产领域,尤其涉及一种服装生产加工传输设备,包括平台和支撑腿,所述支撑腿固定安装在平台上;放卷机构,其固定安装在平台一侧,放卷机构可转动以对布料进行收卷或释放;支杆,其固定安装在平台且设置有两个,两个所述支杆远离平台的一端固定连接有引导机构,引导机构用于对布料进行导向;输送机构,其与引导机构固定连接且设置有两个,布料可穿过两个输送机构,两个所述输送机构可在引导机构的带动下相互接近以将布料压紧。本实用新型提供的服装生产加工传输设备不仅可以对布料进行输送,而且可以在放卷结束后立即停止放卷,避免造成布料缠绕,同时能够对布料压紧以快速输送,提高了布料输送效率,操作简单,实用性强。


