授权公布号:CN214487951U
一种家具板材清洁装置
有效
申请
2020-12-24
申请公布
1970-01-01
授权
2021-10-26
预估到期
2030-12-24
| 申请号 | CN202023170124.4 |
| 申请日 | 2020-12-24 |
| 授权公布号 | CN214487951U |
| 授权公告日 | 2021-10-26 |
| 分类号 | B08B1/02;B08B3/02;B08B3/08;B08B13/00 |
| 分类 | 清洁; |
| 申请人名称 | 山东南华家具有限公司 |
| 申请人地址 | 山东省济南市槐荫区美里湖范庄东 |
专利法律状态
2021-10-26
授权
状态信息
授权
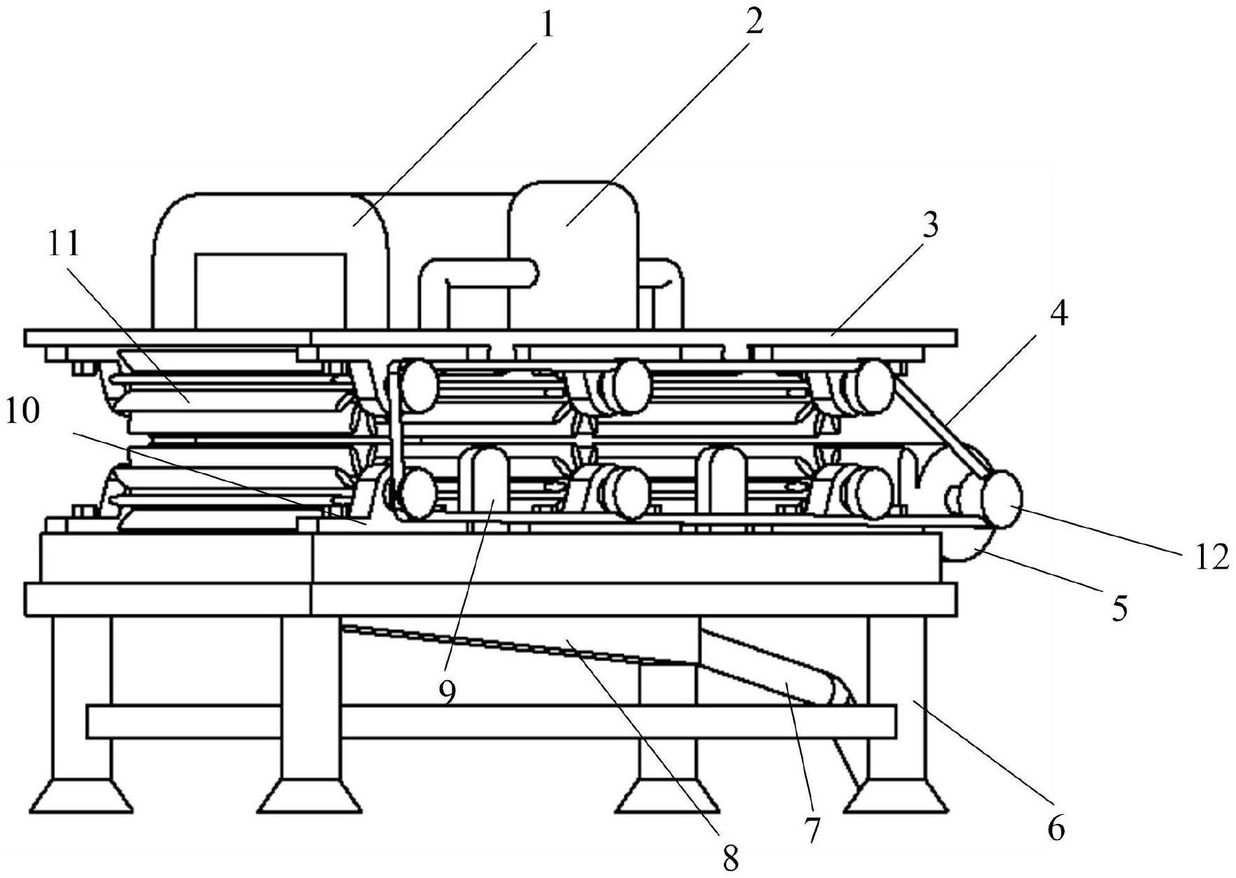
摘要
本实用新型公开了一种家具板材清洁装置,包括支板,洒水系统,顶板,传动带,电机,支架体,废水管,集水槽,板材支撑架,带座轴承,清洗辊和电机带轮,本实用新型,撒水系统固定安装在顶板上,顶板通过支板与支架体固定,电机固定安装在支架体的一侧,清洗辊和带座轴承活动连接,带座轴承设置为多个,且带座轴承通过六角螺栓固定在顶板的下方和支架体的上方,集水槽设置在支架体的下方,废水管连接在集水槽的一侧,传动带连接与电机带轮和清洗辊带轮,板材支撑架采用多个设置在支架体上。


