授权公布号:CN214135865U
一种用于气钉枪直线出钉的滑行设备
有效
申请
2020-12-24
申请公布
1970-01-01
授权
2021-09-07
预估到期
2030-12-24
| 申请号 | CN202023168797.6 |
| 申请日 | 2020-12-24 |
| 授权公布号 | CN214135865U |
| 授权公告日 | 2021-09-07 |
| 分类号 | B25C1/04;B25C7/00 |
| 分类 | 手动工具;轻便机动工具;手动器械的手柄;车间设备;机械手; |
| 申请人名称 | 山东南华家具有限公司 |
| 申请人地址 | 山东省济南市槐荫区美里湖范庄东 |
专利法律状态
2021-09-07
授权
状态信息
授权
摘要
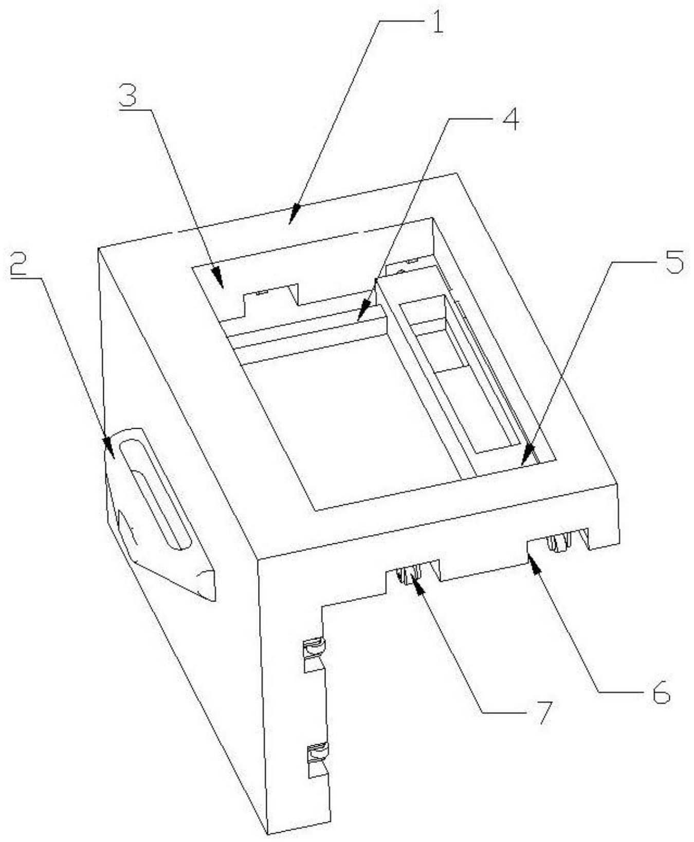
本实用新型公开了一种用于气钉枪直线出钉的滑行设备,包括滑行架,推行把手,通槽,滑轨和气钉枪托架,本实用新型,滑行架和推行把手的设置,将滑行架放置在壁橱的边角处,通过推行把手推动滑行架带动气钉枪滑行,能够保证气钉枪射出的每个气钉处于同一条直线上,防止气钉出现射偏的情况,一来可以降低工作强度,二来提高了工作效率;滑轨的设置,气钉枪托架在滑轨上可以调整气钉枪的横向位置,保证气钉枪的射钉位置处于壁橱框架上;滑行轮的设置,通过滑行轮方便了滑行架的滑行,防止在移动的时候出现卡阻;气钉枪托架的设置,使用的时候,将气钉枪放在气钉枪托槽上,气钉枪的枪头从开口槽内贯出,与壁橱表面接触,从而便于对于气钉的射出。


