授权公布号:CN2577216
用于过冷水连续制冰系统的带过冷消除装置的蓄冰槽
有效
申请
2002-10-11
申请公布
1970-01-01
授权
2003-10-01
预估到期
2012-10-11
| 申请号 | CN02256685.6 |
| 申请日 | 2002-10-11 |
| 授权公布号 | CN2577216 |
| 授权公告日 | 2003-10-01 |
| 分类号 | F28C1/00 |
| 分类 | 一般热交换; |
| 申请人名称 | 同方股份有限公司 |
| 申请人地址 | 北京市 |
专利法律状态
2021-05-28
授权
状态信息
授权
2005-05-04
其他有关事项避免重复授权放弃专利权
状态信息
<放弃生效日>2005.04.13</放弃生效日>
2003-10-01
实用新型专利权授予
状态信息
授权
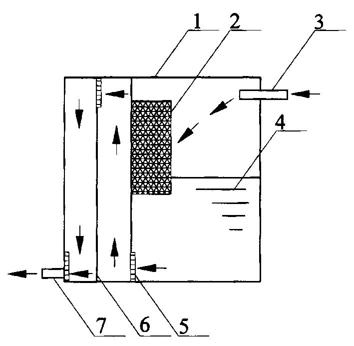
摘要
本实用新型公开了用于过冷水连续制冰系统的带过冷消除装置的蓄冰槽,属于用于过冷水连续制冰系统的蓄冰槽。本实用新型可以有效地消除过冷水的过冷状态,并在采用较低目数滤网的条件下,减少流出冰槽的冰晶量。本实用新型包括设有过冷水进口、过冷水出口的蓄冰槽箱体和滤网。在所述蓄冰槽箱体中过冷却器出口水冲刷到的地方设有金属丝网。其结构特点在于,在所述蓄冰槽箱体中架设多级挡水板,并在每级挡水板上设置多重过滤网,各滤网采用上下交叉方式布置。本实用新型主要应用于过冷水连续制冰系统。


