授权公布号:CN211368327U
一种新型省力撬取式铁钩
有效
申请
2019-09-28
申请公布
1970-01-01
授权
2020-08-28
预估到期
2029-09-28
| 申请号 | CN201921632981.6 |
| 申请日 | 2019-09-28 |
| 授权公布号 | CN211368327U |
| 授权公告日 | 2020-08-28 |
| 分类号 | E01C23/12 |
| 分类 | 道路、铁路或桥梁的建筑; |
| 申请人名称 | 深圳市佰石特石业有限公司 |
| 申请人地址 | 广东省深圳市南山区西丽街道大磡社区王京坑村85号101 |
专利法律状态
2024-02-20
专利权质押登记、变更及注销
状态信息
专利权质押登记;IPC(主分类):E01C23/12;登记号:Y2024980003470;登记日:20240126;出质人:深圳市佰石特石业有限公司;质权人:深圳市中小企业融资担保有限公司;实用新型名称:一种新型省力撬取式铁钩;申请日:20190928;授权公告日:20200828
2023-12-15
专利权质押合同登记的生效、变更及注销
状态信息
专利权质押合同登记的注销;IPC(主分类):E01C23/12;授权公告日:20200828;申请日:20190928;登记号:Y2022440020225;出质人:深圳市佰石特石业有限公司;质权人:深圳市中小担小额贷款有限公司;解除日:20231127
2022-11-18
专利权质押合同登记的生效、变更及注销
状态信息
专利权质押合同登记的生效;IPC(主分类):E01C23/12;登记号:Y2022440020225;登记生效日:20221031;出质人:深圳市佰石特石业有限公司;质权人:深圳市中小担小额贷款有限公司;实用新型名称:一种新型省力撬取式铁钩;申请日:20190928;授权公告日:20200828
2020-08-28
授权
状态信息
授权
摘要
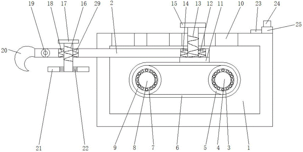
本实用新型公开了一种新型省力撬取式铁钩,包括翘取盒,所述翘取盒内部右侧上下两端均固定安装有第一轴承,两个所述第一轴承内侧壁之间贯穿安装有第一随动杆,所述第一随动杆中端表面固定安装有第一滚动桶,所述第一随动杆上端表面镶嵌安装有随动齿轮。本实用新型由于可以通过转动电机带动第一随动杆进行转动,使第一滚动桶带动传送皮带和第二滚动桶进行转动,进而使固定在传送皮带表面的滑动杆向前或者向后移动,可以调节滑动杆在翘取盒内部的长度,使整个装置的长度增加或者减少,进而调节翘取钩的位置,使不同身高的使用者不必弯腰去拉动相应的待翘取的物品,保护使用者的身体健康,较为实用,适合广泛推广与使用。


