授权公布号:CN210961284U
一种新型的可拆卸石材展示架
有效
申请
2019-09-28
申请公布
1970-01-01
授权
2020-07-10
预估到期
2029-09-28
| 申请号 | CN201921632970.8 |
| 申请日 | 2019-09-28 |
| 授权公布号 | CN210961284U |
| 授权公告日 | 2020-07-10 |
| 分类号 | A47F7/00;A47F5/10 |
| 分类 | 家具;家庭用的物品或设备;咖啡磨;香料磨;一般吸尘器; |
| 申请人名称 | 深圳市佰石特石业有限公司 |
| 申请人地址 | 广东省深圳市南山区西丽街道大磡社区王京坑村85号101 |
专利法律状态
2020-07-10
授权
状态信息
授权
摘要
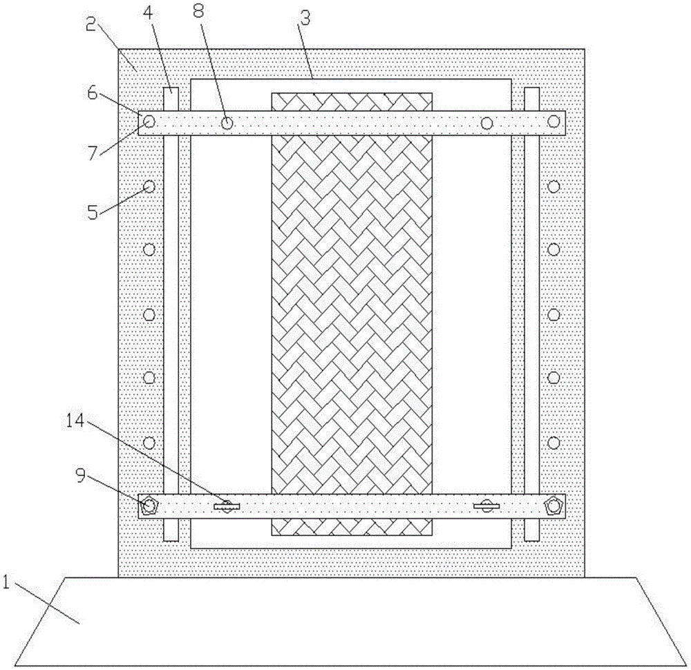
本实用新型公开了一种新型的可拆卸石材展示架,包括固定台、石材板和导杆;所述固定台为钢材料制成,所述固定台的上表面中部竖直焊接有展示架,所述展示架的前侧中部开设有放置槽,所述展示架前侧左端和右端竖直对称开设有限位槽。本实用新型把石材板竖直放置在放置槽内,平稳的推动调节板在展示架的前侧上下移动,推动展示架下方的调节板移动至放置槽的底侧,通过螺栓贯穿第一固定孔和第二固定孔对调节板进行固定,通过内螺纹与外螺纹螺旋连接,顺时针转动把手,经导杆能够带动推板往后移动,进一步对放置槽内的石材板进行固定,在需要拆卸石材板时,按照相反的步骤逆时针转动把手,拆除螺栓,即可移走调节板,方便取下石材板。


