授权公布号:CN210822303U
一种石材短程运输独轮运输设备
有效
申请
2019-09-28
申请公布
1970-01-01
授权
2020-06-23
预估到期
2029-09-28
| 申请号 | CN201921632983.5 |
| 申请日 | 2019-09-28 |
| 授权公布号 | CN210822303U |
| 授权公告日 | 2020-06-23 |
| 分类号 | B62B1/12;B62B1/14 |
| 分类 | 无轨陆用车辆; |
| 申请人名称 | 深圳市佰石特石业有限公司 |
| 申请人地址 | 广东省深圳市南山区西丽街道大磡社区王京坑村85号101 |
专利法律状态
2020-06-23
授权
状态信息
授权
摘要
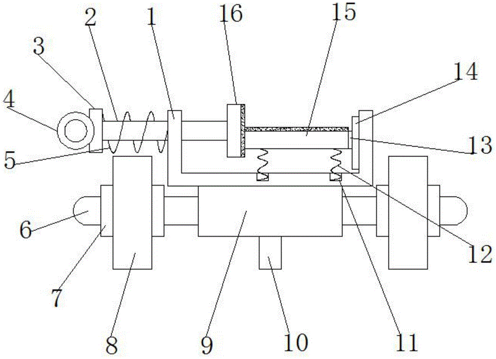
本实用新型公开了一种石材短程运输独轮运输设备,包括定位板,所述定位板内右侧置有载板,所述载板底部左右两侧均固定连接有弹簧b且弹簧b设有若干组,所述弹簧b底端置于凹槽内,所述载板左侧置于压板,所述压板左侧中部固定设置有活动杆和活动杆贯穿于定位板左壁顶部,所述活动杆左端安装有推动板,所述活动杆靠近定位板的左侧缠绕有弹簧a。本实用新型通过定位板,在少量石材短程运输期间,工作人员扶持定位板内的石材顶部,并推动石材带动定位板下方的行走轮移动,可替代较大运输设备运输少量石材,且本运输设备体积小,结构简单,造价成本低,符合少量石材短程运输需求,适合广泛推广与使用。


