授权公布号:CN218443757U
一种高速分页机重叠漏打码检测装置
有效
申请
2022-09-09
申请公布
1970-01-01
授权
2023-02-03
预估到期
2032-09-09
| 申请号 | CN202222399377.1 |
| 申请日 | 2022-09-09 |
| 授权公布号 | CN218443757U |
| 授权公告日 | 2023-02-03 |
| 分类号 | G01B11/06;B41J11/00 |
| 分类 | 测量;测试; |
| 申请人名称 | 河南羚锐制药股份有限公司 |
| 申请人地址 | 河南省信阳市新县将军路666号 |
专利法律状态
2023-02-03
授权
状态信息
授权
摘要
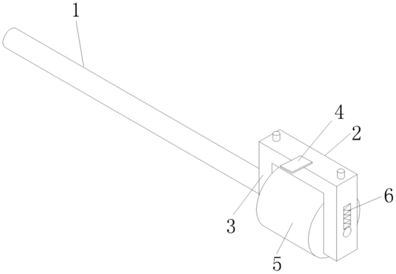
本实用新型涉及高速分页机重叠漏打码检测装置,可有效解决生产过程中小盒出现粘连造成漏打码的问题,其解决的技术方案是,包括支架、光电传感器、尼龙辊轮,主支架端部安装有光电传感器支架和尼龙辊支架,光电传感器支架和尼龙辊支架端部相接构成呈下部开口的“口”字形,光电传感器支架上安装有光电传感器,尼龙辊支架上装有尼龙辊轮,尼龙辊支架内设置有重力弹簧,本实用新型结构新颖紧凑,便于安装,易操作使用,有效解决了生产过程中小盒出现粘连造成漏打码的问题,且在使用过程中较稳定,实用性较好,是小盒重叠检测装置上的创新。


