授权公布号:CN207722266U
一种带空气净化的室内消防装置
有效
申请
2017-12-02
申请公布
1970-01-01
授权
2018-08-14
预估到期
2027-12-02
| 申请号 | CN201721654585.4 |
| 申请日 | 2017-12-02 |
| 授权公布号 | CN207722266U |
| 授权公告日 | 2018-08-14 |
| 分类号 | A62C31/00;B01D50/00;B01D47/06 |
| 分类 | 救生;消防; |
| 申请人名称 | 深圳市广安消防装饰工程有限公司 |
| 申请人地址 | 广东省深圳市福田区车公庙工业区泰然211栋工业厂房第2层东 |
专利法律状态
2019-02-12
专利申请权、专利权的转移
状态信息
专利权的转移;IPC(主分类):A62C 31/00;专利号:ZL2017216545854;登记生效日:20190118;变更事项:专利权人;变更前权利人:赵宏刚;变更后权利人:深圳市广安消防装饰工程有限公司;变更事项:地址;变更前权利人:518000 广东省深圳市大鹏新区迭福路三号中海石油一号门广安消防装饰工程有限公司;变更后权利人:518000 广东省深圳市福田区车公庙工业区泰然211栋工业厂房第2层东
2018-08-14
实用新型专利权授予
状态信息
授权
摘要
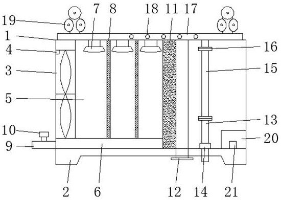
本实用新型提供一种带空气净化的室内消防装置,包括壳体、连接软管和三通管,所述壳体的底部设有固定底座,且壳体内的左侧设有喷淋室,所述喷淋室的左侧安装有排风扇,且排风扇上设有烟雾传感器,所述喷淋室内安装有喷淋头和过滤网,且喷淋室内的右端安装有活性炭过滤层,所述壳体内的右端安装有进水管,且进水管上设有电磁阀,所述三通管的顶部两侧均安装有喷雾式喷头,且三通管的正面中间安装有高压喷头,所述壳体内的右侧设有控制箱,且控制箱内安装有控制器。本实用新型能够自动控制排风扇和电磁阀的开启;能够进行灭火的同时也能去除空气中的烟雾;能够对烟雾进行净化处理,防止烟雾对消防人员造成一定的伤害。


