授权公布号:CN203903368U
一种可移动升降式输送机
有效
申请
2014-05-19
申请公布
1970-01-01
授权
2014-10-29
预估到期
2024-05-19
| 申请号 | CN201420255130.5 |
| 申请日 | 2014-05-19 |
| 授权公布号 | CN203903368U |
| 授权公告日 | 2014-10-29 |
| 分类号 | B65G41/00;B65G21/12;B65G67/04 |
| 分类 | 输送;包装;贮存;搬运薄的或细丝状材料; |
| 申请人名称 | 甘肃天宝塑业有限责任公司 |
| 申请人地址 | 甘肃省天水市秦州区莲亭路47号 |
专利法律状态
2016-10-26
专利权人的姓名或者名称、地址的变更
状态信息
专利权人的姓名或者名称、地址的变更;IPC(主分类):B65G41/00;变更事项:专利权人;变更前:天水天宝塑业有限责任公司;变更后:甘肃天宝塑业有限责任公司;变更事项:地址;变更前:741000 甘肃省天水市秦州区莲亭路47号;变更后:741000 甘肃省天水市秦州区莲亭路47号
2014-10-29
授权
状态信息
授权
摘要
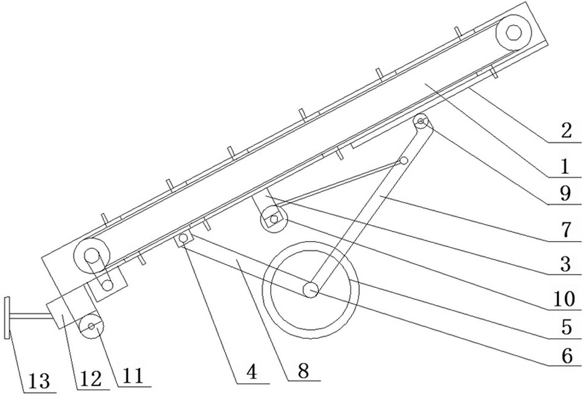
本实用新型涉及一种可移动升降式输送机。本实用新型通过在输送机底部设置升降装置和移动装置使得输送机输送仰角可根据工作环境进行调节,并且可应用于多种工作环境;本实用新型大幅度降低了劳动强度、提高了装载效率低,并且结构简单、性能稳定、制造成本低廉。


