授权公布号:CN114646544B
一种包装袋载重性能检测装置及检测方法
有效
申请
2022-05-24
申请公布
2022-06-21
授权
2022-08-02
预估到期
2042-05-24
| 申请号 | CN202210567222.6 |
| 申请日 | 2022-05-24 |
| 申请公布号 | CN114646544A |
| 申请公布日 | 2022-06-21 |
| 授权公布号 | CN114646544B |
| 授权公告日 | 2022-08-02 |
| 分类号 | G01N3/14;G01M13/00;G01N3/02;G01N3/04 |
| 分类 | 测量;测试; |
| 申请人名称 | 安徽省通达新材料有限公司 |
| 申请人地址 | 安徽省合肥市瑶海区龙岗综合经济开发区通达路1号 |
专利法律状态
2022-08-02
授权
状态信息
授权
2022-06-21
公布
状态信息
公布
摘要
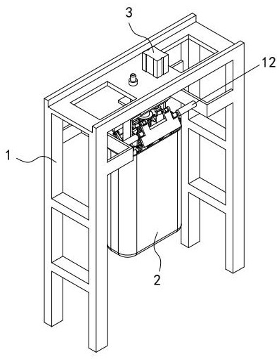
本发明涉及包装袋生产制造技术领域,具体提出了一种包装袋载重性能检测装置及检测方法,该装置包括机架,所述机架顶端安装有竖直称重的载重称重装置,所述载重称重装置的底部称重端装配连接有袋体内撑装置;所述机架上还装配有用于包装袋袋口端夹紧的袋口夹紧装置;通过本发明装置能够对抽检的若干包装袋逐一进行同标准重复性的载重性能检测试验,检测简单快速,解决了现有的包装袋生产制造过程中忽视性能检测以及采用不当的检测方式进行检测而造成检测效果差且无法获得客观准确的检测数据的问题,能够为包装袋的实际使用以及后续生产如何改进提高包装袋载重性能强度提供可靠的数据参考。


